ГОСТ 9592-2024 Подшипники качения. Подшипники шариковые радиальные с широким внутренним кольцом. Общие технические требования

Категории ГОСТ 9592-2024 по ОКС:
Статус документа:
действует, введён в действие 01.02.2025
Название на английском языке:
Rolling bearings. Radial ball bearings with wide inner ring. General technical requirements
Дата актуализации информации по стандарту:
26.08.2025, в 20:10 (менее полугода назад)
Вид стандарта:
временно не известен
Дата начала действия ГОСТа:
2025-02-01
Дата последнего издания документа:
2024-12-12
Число страниц:
12
Назначение ГОСТ 9592-2024:
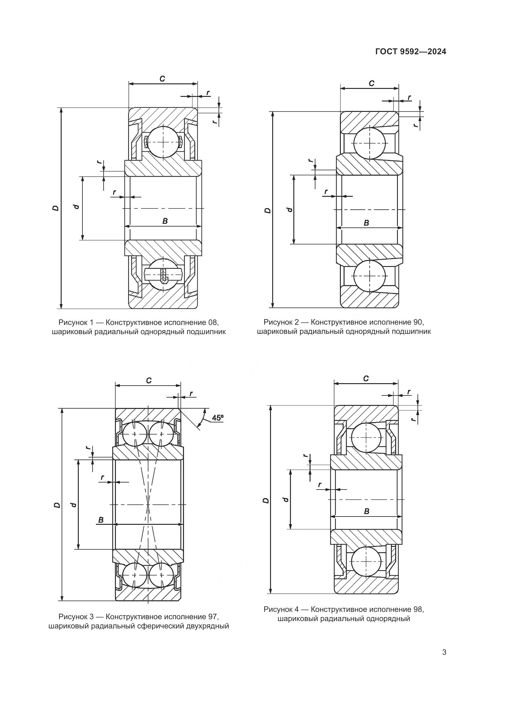
Настоящий стандарт распространяется на шариковые радиальные подшипники с широким внутренним кольцом, изготавливаемые по ГОСТ 520, и устанавливает их классификацию по конструктивным исполнениям и присоединительным размерам, указания по применению и эксплуатации, а также дополнительные технические требования к данной группе однородной продукции
Ключевые слова документа:
классификация, подшипники качения, присоединительные размеры, с широким внутренним кольцом, технические требования, указания по применению и эксплуатации, шариковый радиальный подшипник

Скачать ГОСТ 9592-2024 вы можете в следующих версиях:

Тип файла:
Дата добавления:
Загрузок:
Размер:
Тип файла:
PDF с изображениями
Добавлен:
21/11/2025 12:08
Скачиваний:
0
Размер файла:
2.26 Мб
  • ГОСТ 9592-2024, страница 1 страница 1
  • ГОСТ 9592-2024, страница 2 страница 2
  • ГОСТ 9592-2024, страница 3 страница 3
  • ГОСТ 9592-2024, страница 4 страница 4
  • ГОСТ 9592-2024, страница 5 страница 5
  • ГОСТ 9592-2024, страница 6 страница 6
  • ГОСТ 9592-2024, страница 7 страница 7
  • ГОСТ 9592-2024, страница 8 страница 8
  • ГОСТ 9592-2024, страница 9 страница 9
  • ГОСТ 9592-2024, страница 10 страница 10
  • ГОСТ 9592-2024, страница 11 страница 11
  • ГОСТ 9592-2024, страница 12 страница 12