ГОСТ 9509-74 Весы и весовые дозаторы. Призмы и подушки стальные. Общие технические требования

Категории ГОСТ 9509-74 по ОКС:
Статус документа:
действует, введён в действие 01.01.1976
Название на английском языке:
Scales and dosimeters. Knifeedges and bearings of steel. General requirements
Дата актуализации информации по стандарту:
30.07.2025, в 17:45 (менее полугода назад)
Вид стандарта:
Стандарты на продукцию (услуги)
Дата начала действия ГОСТа:
1976-01-01
Дата последнего издания документа:
2007-04-01
Коды документа ГОСТ 9509-74:
Код ОКП:
427494
Код КГС:
П16
Код ОКСТУ:
4274
Число страниц:
26
Назначение ГОСТ 9509-74:
Настоящий стандарт распространяется на призмы и подушки стальные весов для статического взвешивания по ГОСТ 29329-92, а также весовых дозаторов дискретного действия, весов и весовых дозаторов непрерывного действия по ГОСТ 10223-97 и ГОСТ 30124-94. Стандарт не распространяется на призмы и подушки технологических весов и весовых дозаторов, разработанных до 01.01.78
ГРНТИ индекс(ы):
593133;593133
Этот ГОСТ входит в сборник:
Приборы для измерения и дозирования массы

Скачать ГОСТ 9509-74 вы можете в следующих версиях:

Тип файла:
Дата добавления:
Загрузок:
Размер:
Тип файла:
PDF с изображениями
Добавлен:
12/12/2011 01:59
Скачиваний:
126
Размер файла:
0.82 Мб

Поправки и изменения к ГОСТ 9509-74:

  • Наименование, вид:
    Дата
    регистрации:
    начала действия:
  • Изменение №2 к ГОСТ 9509-74

    Тип изменения: Текстовое изменение
    Номер изменения: 2
    Регистрационный номер: 2678

    1978-10-18
    1978-12-01
  • Изменение №3 к ГОСТ 9509-74

    Тип изменения: Текстовое изменение
    Номер изменения: 3
    Регистрационный номер: 867

    1980-02-25
    1980-06-01
  • Изменение №4 к ГОСТ 9509-74

    Тип изменения: Текстовое изменение
    Номер изменения: 4
    Регистрационный номер: 3340
    Новое значение: -

    1988-09-29
    1989-01-01
  • ГОСТ 9509-74, страница 1 страница 1
  • ГОСТ 9509-74, страница 2 страница 2
  • ГОСТ 9509-74, страница 3 страница 3
  • ГОСТ 9509-74, страница 4 страница 4
  • ГОСТ 9509-74, страница 5 страница 5
  • ГОСТ 9509-74, страница 6 страница 6
  • ГОСТ 9509-74, страница 7 страница 7
  • ГОСТ 9509-74, страница 8 страница 8
  • ГОСТ 9509-74, страница 9 страница 9
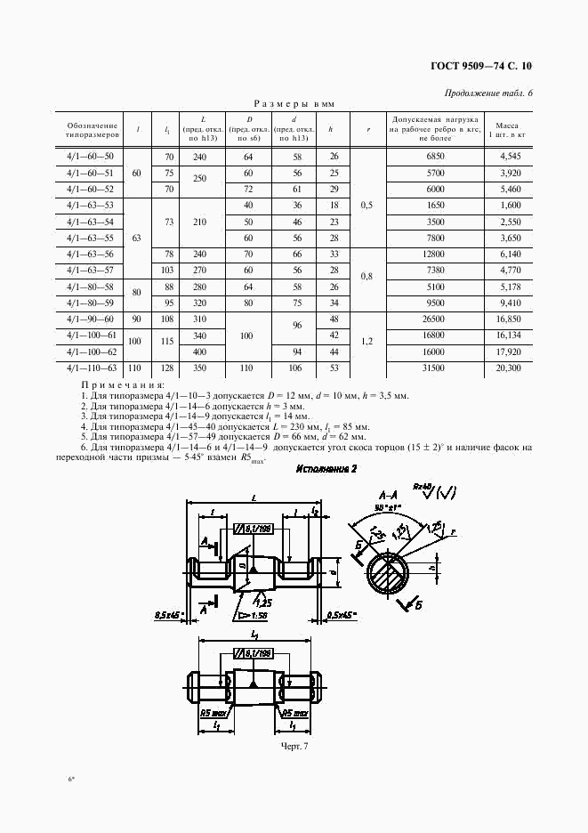
  • ГОСТ 9509-74, страница 10 страница 10
  • ГОСТ 9509-74, страница 11 страница 11
  • ГОСТ 9509-74, страница 12 страница 12
  • ГОСТ 9509-74, страница 13 страница 13
  • ГОСТ 9509-74, страница 14 страница 14
  • ГОСТ 9509-74, страница 15 страница 15
  • ГОСТ 9509-74, страница 16 страница 16
  • ГОСТ 9509-74, страница 17 страница 17
  • ГОСТ 9509-74, страница 18 страница 18
  • ГОСТ 9509-74, страница 19 страница 19
  • ГОСТ 9509-74, страница 20 страница 20
  • ГОСТ 9509-74, страница 21 страница 21
  • ГОСТ 9509-74, страница 22 страница 22
  • ГОСТ 9509-74, страница 23 страница 23
  • ГОСТ 9509-74, страница 24 страница 24
  • ГОСТ 9509-74, страница 25 страница 25
  • ГОСТ 9509-74, страница 26 страница 26