ГОСТ 8995-2025
ГОСТ 8995-2025 Подшипники качения. Подшипники шариковые радиально-упорные однорядные с полукольцами. Классификация, указания по применению и эксплуатации
Категории ГОСТ 8995-2025 по ОКС:- Статус документа:
- действует, введён в действие 01.12.2025
- Название на английском языке:
- Rolling bearings. Single row angular contact ball bearings with semi-rings. Classification, guidance for application and exploitation
- Дата актуализации информации по стандарту:
- 25.12.2025, в 08:56 (менее месяца назад)
- Вид стандарта:
- временно не известен
- Дата начала действия ГОСТа:
- 2025-12-01
- Дата последнего издания документа:
- 2025-08-22
- Число страниц:
- 12
- Назначение ГОСТ 8995-2025:
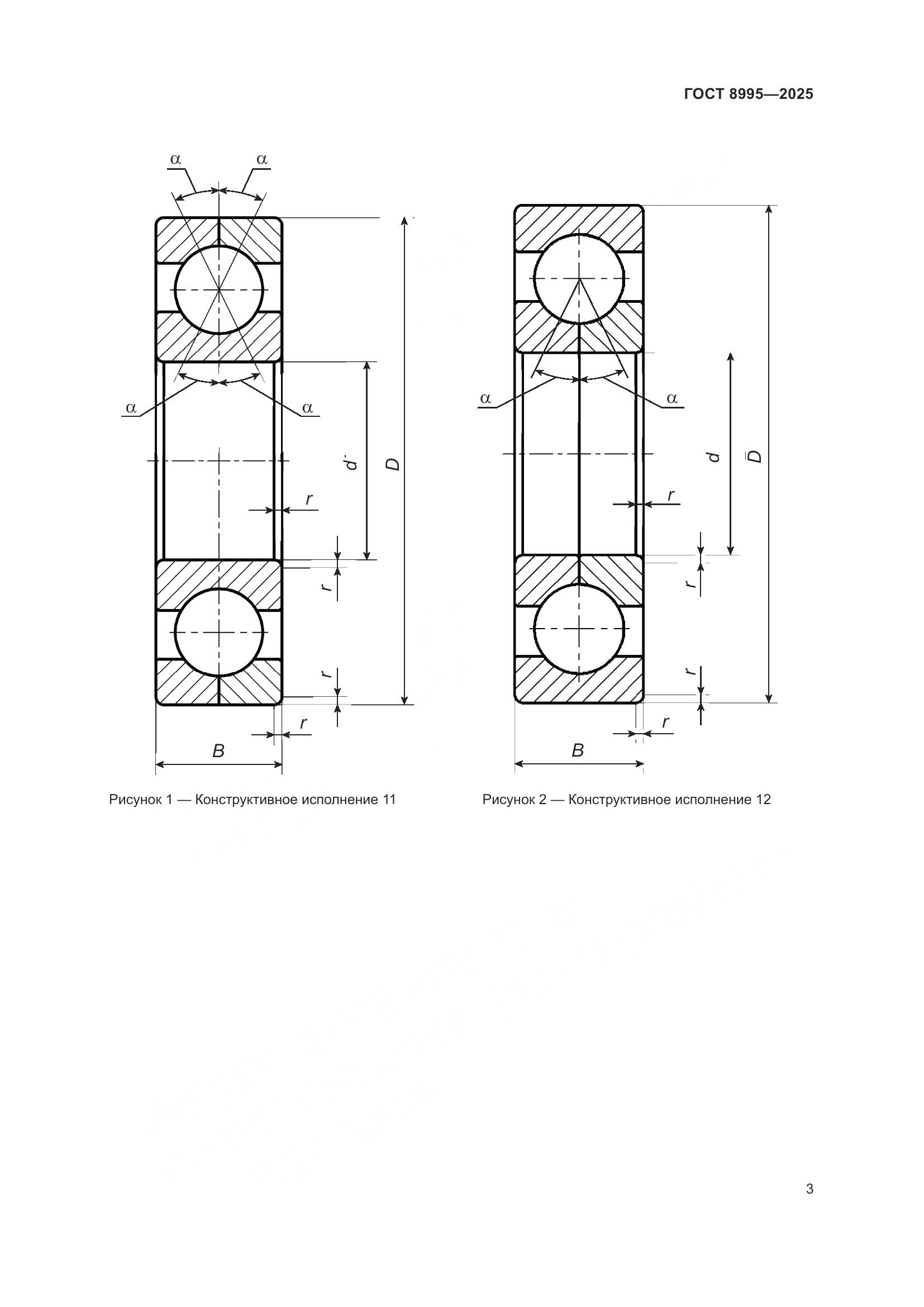
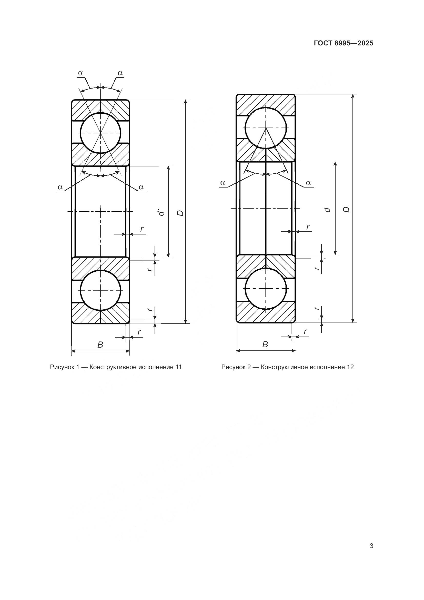
- Настоящий стандарт распространяется на шариковые радиально-упорные однорядные подшипники с наружными или внутренними полукольцами, изготавливаемые по ГОСТ 520, и устанавливает их классификацию по конструктивным исполнениям и присоединительным размерам, указания по применению и эксплуатации
- Документ принят орг-ей:
- Межгосударственный Совет по стандартизации метрологии и сертификации, протокол №187-П
- Ключевые слова документа:
- классификация, подшипники качения, присоединительные размеры, технические требования, указания по применению и эксплуатации, шариковый радиально-упорный однорядный подшипник с полукольцами
Нормативные ссылки, связанные с ГОСТ 8995-2025:
- Стандарт ссылается на ГОСТы:
- ГОСТ 520, ГОСТ 3189, ГОСТ 3325, ГОСТ 3478, ГОСТ 24955, ГОСТ 25256
Скачать ГОСТ 8995-2025 вы можете в следующих версиях:
-
страница 1
-
страница 2
-
страница 3
-
страница 4
-
страница 5
-
страница 6
-
страница 7
-
страница 8
-
страница 9
-
страница 10
-
страница 11
-
страница 12