ГОСТ IEC TS 62196-4-2024 Вилки, штепсельные розетки, соединители и вводы для транспортных средств. Проводная зарядка для электромобилей. Часть 4. Требования размерной совместимости и взаимозаменяемости для штыревых разъемов и контактных трубок автомобильных соединителей постоянного и тока применений класса II и класса III

Категории ГОСТ IEC TS 62196-4-2024 по ОКС:
Статус документа:
действует, введён в действие 01.01.2025
Название на английском языке:
Plugs, socket-outlets, connectors and inlets for vehicle. Conductive charging of electric vehicles. Part 4. Dimensional compatibility and interchangeability requirements for pin connectors and contact tubes of vehicular DC and current connectors for Class II or Class III applications
Дата актуализации информации по стандарту:
26.08.2025, в 19:04 (менее 3 месяцев назад)
Вид стандарта:
временно не известен
Дата начала действия ГОСТа:
2025-01-01
Число страниц:
58
Назначение ГОСТ IEC TS 62196-4-2024:
не указано
Нормативные ссылки, связанные с ГОСТ IEC TS 62196-4-2024:

Скачать ГОСТ IEC TS 62196-4-2024 вы можете в следующих версиях:

В данный момент версий документа для скачивания не добавлено.

Мы стараемся пополнять базу документов еженедельно и из разных источников, в обозримом будущем версии для этого ГОСТа появятся.

Вы можете просмотреть online текст стандарта ГОСТ IEC TS 62196-4-2024

Просмотреть текст ГОСТ IEC TS 62196-4-2024

Текст стандарта

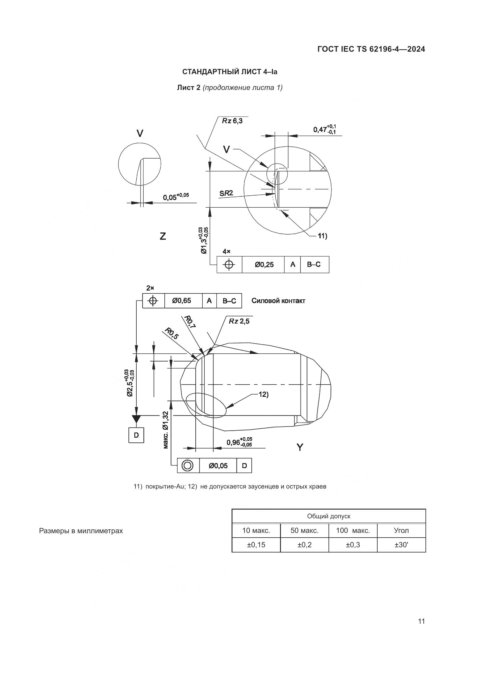
  • ГОСТ IEC TS 62196-4-2024, страница 1 страница 1
  • ГОСТ IEC TS 62196-4-2024, страница 2 страница 2
  • ГОСТ IEC TS 62196-4-2024, страница 3 страница 3
  • ГОСТ IEC TS 62196-4-2024, страница 4 страница 4
  • ГОСТ IEC TS 62196-4-2024, страница 5 страница 5
  • ГОСТ IEC TS 62196-4-2024, страница 6 страница 6
  • ГОСТ IEC TS 62196-4-2024, страница 7 страница 7
  • ГОСТ IEC TS 62196-4-2024, страница 8 страница 8
  • ГОСТ IEC TS 62196-4-2024, страница 9 страница 9
  • ГОСТ IEC TS 62196-4-2024, страница 10 страница 10
  • ГОСТ IEC TS 62196-4-2024, страница 11 страница 11
  • ГОСТ IEC TS 62196-4-2024, страница 12 страница 12
  • ГОСТ IEC TS 62196-4-2024, страница 13 страница 13
  • ГОСТ IEC TS 62196-4-2024, страница 14 страница 14
  • ГОСТ IEC TS 62196-4-2024, страница 15 страница 15
  • ГОСТ IEC TS 62196-4-2024, страница 16 страница 16
  • ГОСТ IEC TS 62196-4-2024, страница 17 страница 17
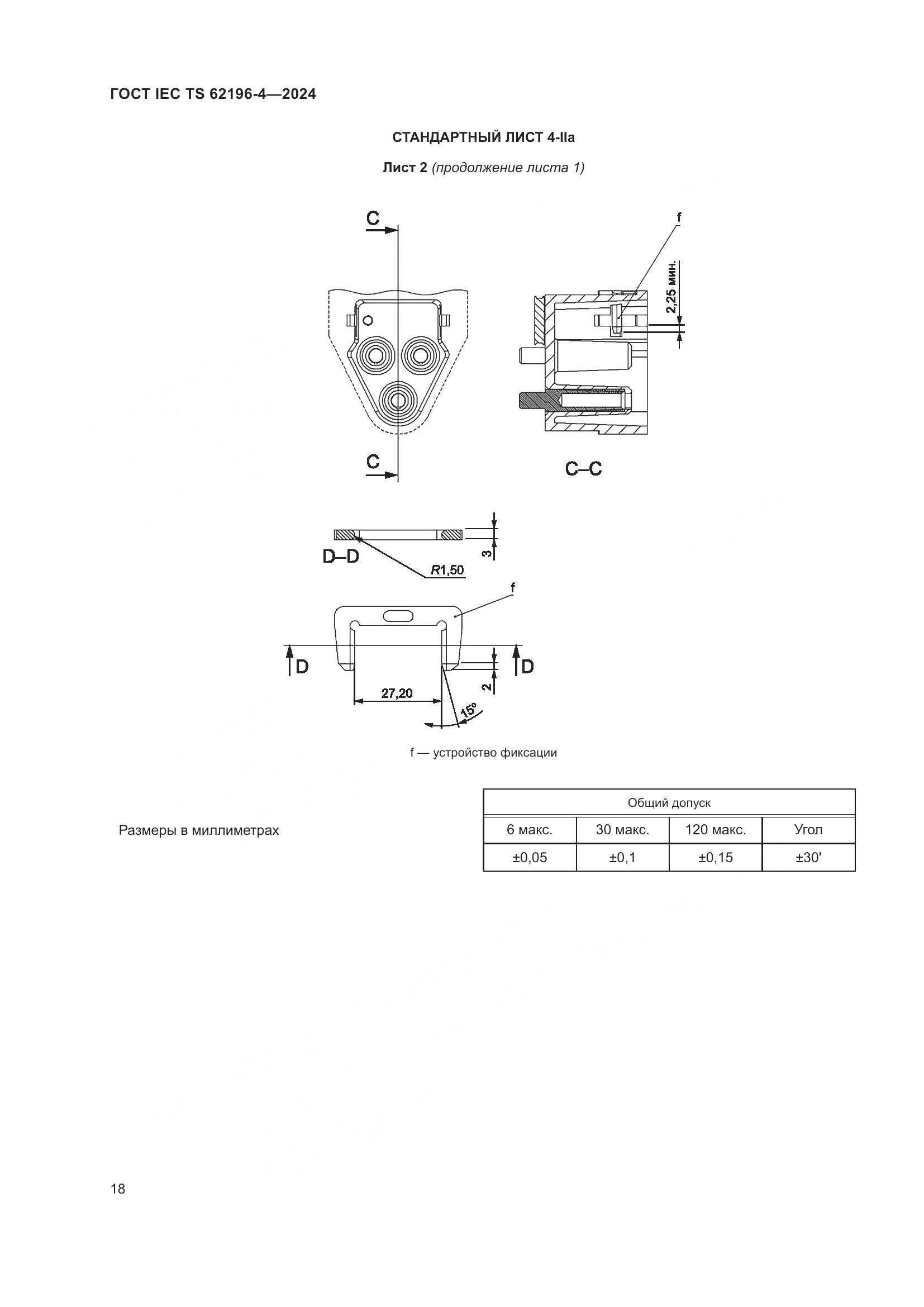
  • ГОСТ IEC TS 62196-4-2024, страница 18 страница 18
  • ГОСТ IEC TS 62196-4-2024, страница 19 страница 19
  • ГОСТ IEC TS 62196-4-2024, страница 20 страница 20
  • ГОСТ IEC TS 62196-4-2024, страница 21 страница 21
  • ГОСТ IEC TS 62196-4-2024, страница 22 страница 22
  • ГОСТ IEC TS 62196-4-2024, страница 23 страница 23
  • ГОСТ IEC TS 62196-4-2024, страница 24 страница 24
  • ГОСТ IEC TS 62196-4-2024, страница 25 страница 25
  • ГОСТ IEC TS 62196-4-2024, страница 26 страница 26
  • ГОСТ IEC TS 62196-4-2024, страница 27 страница 27
  • ГОСТ IEC TS 62196-4-2024, страница 28 страница 28
  • ГОСТ IEC TS 62196-4-2024, страница 29 страница 29
  • ГОСТ IEC TS 62196-4-2024, страница 30 страница 30
  • ГОСТ IEC TS 62196-4-2024, страница 31 страница 31
  • ГОСТ IEC TS 62196-4-2024, страница 32 страница 32
  • ГОСТ IEC TS 62196-4-2024, страница 33 страница 33
  • ГОСТ IEC TS 62196-4-2024, страница 34 страница 34
  • ГОСТ IEC TS 62196-4-2024, страница 35 страница 35
  • ГОСТ IEC TS 62196-4-2024, страница 36 страница 36
  • ГОСТ IEC TS 62196-4-2024, страница 37 страница 37
  • ГОСТ IEC TS 62196-4-2024, страница 38 страница 38
  • ГОСТ IEC TS 62196-4-2024, страница 39 страница 39
  • ГОСТ IEC TS 62196-4-2024, страница 40 страница 40
  • ГОСТ IEC TS 62196-4-2024, страница 41 страница 41
  • ГОСТ IEC TS 62196-4-2024, страница 42 страница 42
  • ГОСТ IEC TS 62196-4-2024, страница 43 страница 43
  • ГОСТ IEC TS 62196-4-2024, страница 44 страница 44
  • ГОСТ IEC TS 62196-4-2024, страница 45 страница 45
  • ГОСТ IEC TS 62196-4-2024, страница 46 страница 46
  • ГОСТ IEC TS 62196-4-2024, страница 47 страница 47
  • ГОСТ IEC TS 62196-4-2024, страница 48 страница 48
  • ГОСТ IEC TS 62196-4-2024, страница 49 страница 49
  • ГОСТ IEC TS 62196-4-2024, страница 50 страница 50
  • ГОСТ IEC TS 62196-4-2024, страница 51 страница 51
  • ГОСТ IEC TS 62196-4-2024, страница 52 страница 52
  • ГОСТ IEC TS 62196-4-2024, страница 53 страница 53
  • ГОСТ IEC TS 62196-4-2024, страница 54 страница 54
  • ГОСТ IEC TS 62196-4-2024, страница 55 страница 55
  • ГОСТ IEC TS 62196-4-2024, страница 56 страница 56
  • ГОСТ IEC TS 62196-4-2024, страница 57 страница 57
  • ГОСТ IEC TS 62196-4-2024, страница 58 страница 58