ГОСТ Р МЭК 61683-2013 Системы фотоэлектрические. Источники стабилизированного питания. Методы определения эффективности

Категории ГОСТ Р МЭК 61683-2013 по ОКС:
Статус документа:
действует, введён в действие 01.01.2015
Название на английском языке:
Photovoltaic systems. Power conditioners. Procedure for measuring efficiency
Дата актуализации информации по стандарту:
22.10.2025, в 12:00 (менее 3 месяцев назад)
Вид стандарта:
временно не известен
Дата начала действия ГОСТа:
2015-01-01
Число страниц:
20
Назначение ГОСТ Р МЭК 61683-2013:
не указано

Скачать ГОСТ Р МЭК 61683-2013 вы можете в следующих версиях:

Тип файла:
Дата добавления:
Загрузок:
Размер:
Тип файла:
PDF с изображениями
Добавлен:
20/11/2025 16:14
Скачиваний:
19
Размер файла:
1.37 Мб
  • ГОСТ Р МЭК 61683-2013, страница 1 страница 1
  • ГОСТ Р МЭК 61683-2013, страница 2 страница 2
  • ГОСТ Р МЭК 61683-2013, страница 3 страница 3
  • ГОСТ Р МЭК 61683-2013, страница 4 страница 4
  • ГОСТ Р МЭК 61683-2013, страница 5 страница 5
  • ГОСТ Р МЭК 61683-2013, страница 6 страница 6
  • ГОСТ Р МЭК 61683-2013, страница 7 страница 7
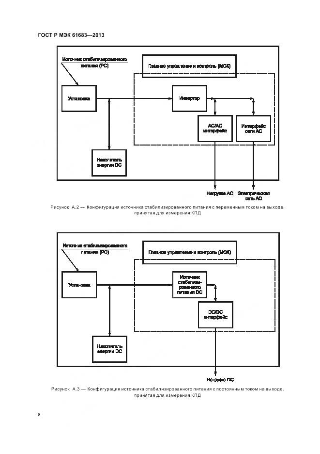
  • ГОСТ Р МЭК 61683-2013, страница 8 страница 8
  • ГОСТ Р МЭК 61683-2013, страница 9 страница 9
  • ГОСТ Р МЭК 61683-2013, страница 10 страница 10
  • ГОСТ Р МЭК 61683-2013, страница 11 страница 11
  • ГОСТ Р МЭК 61683-2013, страница 12 страница 12
  • ГОСТ Р МЭК 61683-2013, страница 13 страница 13
  • ГОСТ Р МЭК 61683-2013, страница 14 страница 14
  • ГОСТ Р МЭК 61683-2013, страница 15 страница 15
  • ГОСТ Р МЭК 61683-2013, страница 16 страница 16
  • ГОСТ Р МЭК 61683-2013, страница 17 страница 17
  • ГОСТ Р МЭК 61683-2013, страница 18 страница 18
  • ГОСТ Р МЭК 61683-2013, страница 19 страница 19
  • ГОСТ Р МЭК 61683-2013, страница 20 страница 20