ГОСТ IEC 60269-6-2013 Предохранители плавкие низковольтные. Часть 6. Дополнительные требования к плавким вставкам для защиты солнечных фотогальванических энергетических систем

Категории ГОСТ IEC 60269-6-2013 по ОКС:
Статус документа:
действует, введён в действие 01.01.2015
Название на английском языке:
Low-voltage fuses. Part 6. Supplementary requirements for fuse-links for the protection of solar photovoltaic energy system
Дата актуализации информации по стандарту:
17.09.2019, в 14:53 (более года назад)
Вид стандарта:
Стандарты на продукцию (услуги)
Дата начала действия ГОСТа:
2015-01-01
Дата последнего издания документа:
2015-03-24
Число страниц:
28
Назначение ГОСТ IEC 60269-6-2013:
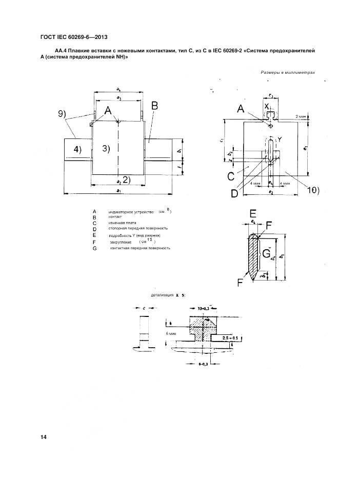
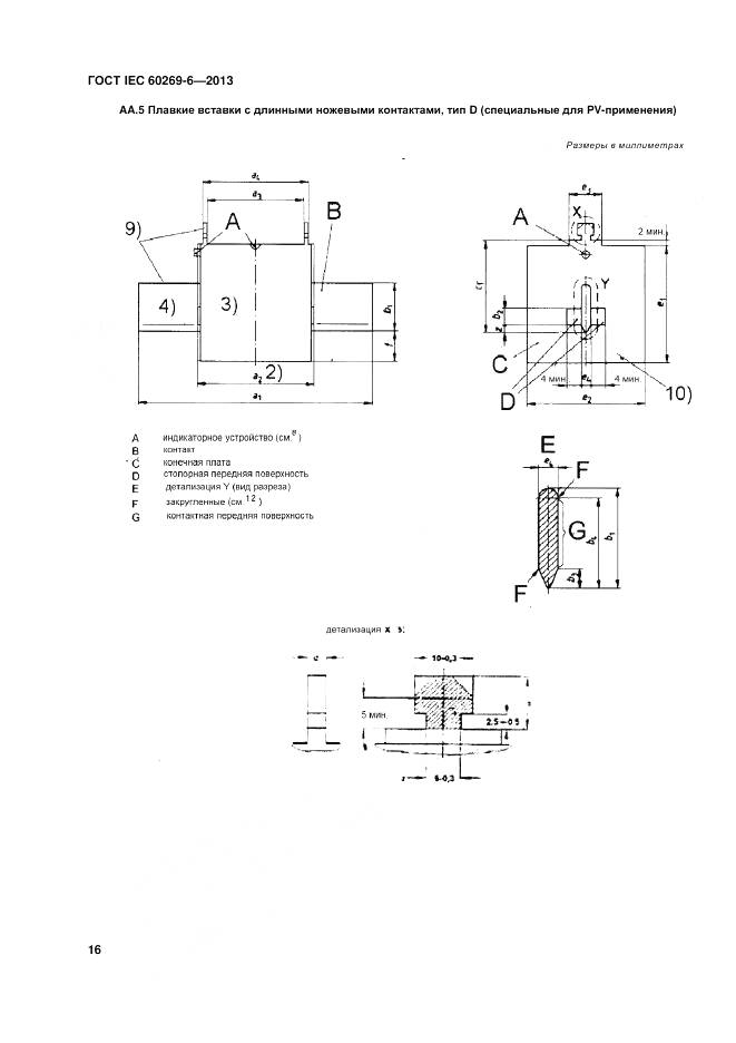
Настоящий стандарт устанавливает дополнительные требования и соответствующие испытания для плавких вставок защиты цепей и матриц солнечных фотоэлектрических элементов в оборудовании, работающих под номинальными напряжениями до 1500 В постоянного тока. Номинальное напряжение плавких вставок может достигать 1500 В постоянного тока
Документ разработан орг-ей:
Федеральное агентство по техническому регулированию и метрологии (Росстандарт)
Документ принят орг-ей:
Межгосударственный Совет по стандартизации метрологии и сертификации, протокол №62-П
Ключевые слова документа:
номинальное напряжение, номинальный ток, плавкие вставки солнечные фотоэлектрические энергетические системы, плавкие предохранители, пределы характеристик, характеристики
Нормативные ссылки, связанные с ГОСТ IEC 60269-6-2013:

Скачать ГОСТ IEC 60269-6-2013 вы можете в следующих версиях:

Дата добавления:
Тип файла:
Загрузок:
Размер:
23/01/2016 18:00
PDF с изображениями
0
0.99 Мб

Текст стандарта

  • ГОСТ IEC 60269-6-2013, страница 1 страница 1
  • ГОСТ IEC 60269-6-2013, страница 2 страница 2
  • ГОСТ IEC 60269-6-2013, страница 3 страница 3
  • ГОСТ IEC 60269-6-2013, страница 4 страница 4
  • ГОСТ IEC 60269-6-2013, страница 5 страница 5
  • ГОСТ IEC 60269-6-2013, страница 6 страница 6
  • ГОСТ IEC 60269-6-2013, страница 7 страница 7
  • ГОСТ IEC 60269-6-2013, страница 8 страница 8
  • ГОСТ IEC 60269-6-2013, страница 9 страница 9
  • ГОСТ IEC 60269-6-2013, страница 10 страница 10
  • ГОСТ IEC 60269-6-2013, страница 11 страница 11
  • ГОСТ IEC 60269-6-2013, страница 12 страница 12
  • ГОСТ IEC 60269-6-2013, страница 13 страница 13
  • ГОСТ IEC 60269-6-2013, страница 14 страница 14
  • ГОСТ IEC 60269-6-2013, страница 15 страница 15
  • ГОСТ IEC 60269-6-2013, страница 16 страница 16
  • ГОСТ IEC 60269-6-2013, страница 17 страница 17
  • ГОСТ IEC 60269-6-2013, страница 18 страница 18
  • ГОСТ IEC 60269-6-2013, страница 19 страница 19
  • ГОСТ IEC 60269-6-2013, страница 20 страница 20
  • ГОСТ IEC 60269-6-2013, страница 21 страница 21
  • ГОСТ IEC 60269-6-2013, страница 22 страница 22
  • ГОСТ IEC 60269-6-2013, страница 23 страница 23
  • ГОСТ IEC 60269-6-2013, страница 24 страница 24
  • ГОСТ IEC 60269-6-2013, страница 25 страница 25
  • ГОСТ IEC 60269-6-2013, страница 26 страница 26
  • ГОСТ IEC 60269-6-2013, страница 27 страница 27
  • ГОСТ IEC 60269-6-2013, страница 28 страница 28