ГОСТ Р 58336-2018 Упоры уголковые анкерные. Методы испытаний

Категории ГОСТ Р 58336-2018 по ОКС:
Статус документа:
действует, введён в действие 01.07.2019
Название на английском языке:
Anchor angular emphasis. Test methods
Дата актуализации информации по стандарту:
11.08.2025, в 13:30 (менее 3 месяцев назад)
Вид стандарта:
временно не известен
Дата начала действия ГОСТа:
2019-07-01
Число страниц:
20
Назначение ГОСТ Р 58336-2018:
не указано
Нормативные ссылки, связанные с ГОСТ Р 58336-2018:

Скачать ГОСТ Р 58336-2018 вы можете в следующих версиях:

В данный момент версий документа для скачивания не добавлено.

Мы стараемся пополнять базу документов еженедельно и из разных источников, в обозримом будущем версии для этого ГОСТа появятся.

Вы можете просмотреть online текст стандарта ГОСТ Р 58336-2018

Просмотреть текст ГОСТ Р 58336-2018

Текст стандарта

  • ГОСТ Р 58336-2018, страница 1 страница 1
  • ГОСТ Р 58336-2018, страница 2 страница 2
  • ГОСТ Р 58336-2018, страница 3 страница 3
  • ГОСТ Р 58336-2018, страница 4 страница 4
  • ГОСТ Р 58336-2018, страница 5 страница 5
  • ГОСТ Р 58336-2018, страница 6 страница 6
  • ГОСТ Р 58336-2018, страница 7 страница 7
  • ГОСТ Р 58336-2018, страница 8 страница 8
  • ГОСТ Р 58336-2018, страница 9 страница 9
  • ГОСТ Р 58336-2018, страница 10 страница 10
  • ГОСТ Р 58336-2018, страница 11 страница 11
  • ГОСТ Р 58336-2018, страница 12 страница 12
  • ГОСТ Р 58336-2018, страница 13 страница 13
  • ГОСТ Р 58336-2018, страница 14 страница 14
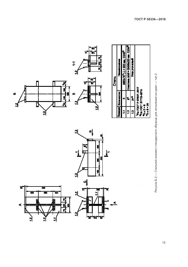
  • ГОСТ Р 58336-2018, страница 15 страница 15
  • ГОСТ Р 58336-2018, страница 16 страница 16
  • ГОСТ Р 58336-2018, страница 17 страница 17
  • ГОСТ Р 58336-2018, страница 18 страница 18
  • ГОСТ Р 58336-2018, страница 19 страница 19
  • ГОСТ Р 58336-2018, страница 20 страница 20