ГОСТ Р 55648-2013 Изоляторы для контактной сети железных дорог. Общие технические условия

Категории ГОСТ Р 55648-2013 по ОКС:
Статус документа:
принят, введён в действие 01.07.2014
Название на английском языке:
Insulators for contact net of railways. General specifications
Дата актуализации информации по стандарту:
30.11.-0001, в 00:00 (более года назад)
Вид стандарта:
временно не известен
Дата начала действия ГОСТа:
2014-07-01
Коды документа ГОСТ Р 55648-2013:
Код ОКП:
318533
Код КГС:
Е35
Число страниц:
не известно
Назначение ГОСТ Р 55648-2013:
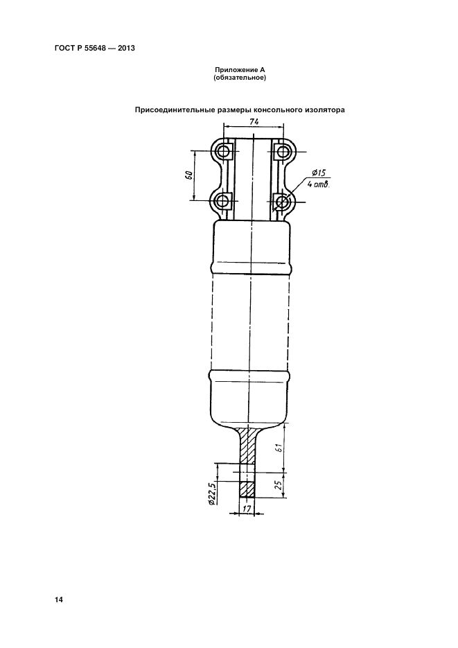
Настоящий стандарт распространяется на стержневые фарфоровые и полимерные и тарельчатые стеклянные изоляторы в климатическом исполнении УХЛ категории размещения 1 по ГОСТ 15150, отвечающие требованиям ГОСТ 15543.1, предназначенные для изоляции и крепления устройств контактной сети железных дорог постоянного и переменного тока напряжением до 29 кВ
Ключевые слова документа:
изоляторы, контактная сеть железных дорог

Скачать ГОСТ Р 55648-2013 вы можете в следующих версиях:

Тип файла:
Дата добавления:
Загрузок:
Размер:
Тип файла:
PDF с изображениями
Добавлен:
23/01/2016 18:13
Скачиваний:
7
Размер файла:
0.85 Мб
  • ГОСТ Р 55648-2013, страница 1 страница 1
  • ГОСТ Р 55648-2013, страница 2 страница 2
  • ГОСТ Р 55648-2013, страница 3 страница 3
  • ГОСТ Р 55648-2013, страница 4 страница 4
  • ГОСТ Р 55648-2013, страница 5 страница 5
  • ГОСТ Р 55648-2013, страница 6 страница 6
  • ГОСТ Р 55648-2013, страница 7 страница 7
  • ГОСТ Р 55648-2013, страница 8 страница 8
  • ГОСТ Р 55648-2013, страница 9 страница 9
  • ГОСТ Р 55648-2013, страница 10 страница 10
  • ГОСТ Р 55648-2013, страница 11 страница 11
  • ГОСТ Р 55648-2013, страница 12 страница 12
  • ГОСТ Р 55648-2013, страница 13 страница 13
  • ГОСТ Р 55648-2013, страница 14 страница 14
  • ГОСТ Р 55648-2013, страница 15 страница 15
  • ГОСТ Р 55648-2013, страница 16 страница 16
  • ГОСТ Р 55648-2013, страница 17 страница 17
  • ГОСТ Р 55648-2013, страница 18 страница 18
  • ГОСТ Р 55648-2013, страница 19 страница 19
  • ГОСТ Р 55648-2013, страница 20 страница 20
  • ГОСТ Р 55648-2013, страница 21 страница 21
  • ГОСТ Р 55648-2013, страница 22 страница 22
  • ГОСТ Р 55648-2013, страница 23 страница 23
  • ГОСТ Р 55648-2013, страница 24 страница 24