ГОСТ Р 54873-2011 Полотна нетканые и изделия из них. Методы определения времени пропускания жидкости

Категории ГОСТ Р 54873-2011 по ОКС:
Статус документа:
действует, введён в действие 01.01.2013
Название на английском языке:
Nonwoven fabrics and products. Methods for determination of liquid strike-through time
Дата актуализации информации по стандарту:
30.11.-0001, в 00:00 (более года назад)
Вид стандарта:
временно не известен
Дата начала действия ГОСТа:
2013-01-01
Дата последнего издания документа:
2012-11-23
Коды документа ГОСТ Р 54873-2011:
Код КГС:
М05
Число страниц:
12
Назначение ГОСТ Р 54873-2011:
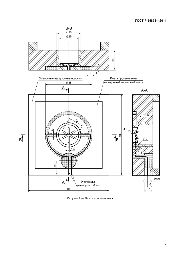
Настоящий стандарт распространяется на метод определения времени пропускания жидкости (искусственной мочи) нетканых полотен и изделий из них. Метод пригоден для сравнительных испытаний нетканых полотен различных типов и структур и изделий из них. Метод не моделирует условия использования готовых изделий. Стандарт устанавливает метод лабораторного определения времени пропускания жидкости нетканых полотен, используемых в женских гигиенических прокладках (пакетах) и других изделиях санитарно–гигиенического назначения. Сущность метода заключается в измерении времени, затраченного жидкостью, имитирующей мочу, для проникновения через испытуемые нетканые материалы и изделия из них, которые помещены на абсорбирующую подушку, при заданных условиях и скорости
Ключевые слова документа:
время впитывания жидкости, метод испытания, полотна нетканые и изделия из них
Нормативные ссылки, связанные с ГОСТ Р 54873-2011:

Скачать ГОСТ Р 54873-2011 вы можете в следующих версиях:

Дата добавления:
Тип файла:
Загрузок:
Размер:
23/01/2016 18:41
PDF с изображениями
0
0.35 Мб

Текст стандарта

  • ГОСТ Р 54873-2011, страница 1 страница 1
  • ГОСТ Р 54873-2011, страница 2 страница 2
  • ГОСТ Р 54873-2011, страница 3 страница 3
  • ГОСТ Р 54873-2011, страница 4 страница 4
  • ГОСТ Р 54873-2011, страница 5 страница 5
  • ГОСТ Р 54873-2011, страница 6 страница 6
  • ГОСТ Р 54873-2011, страница 7 страница 7
  • ГОСТ Р 54873-2011, страница 8 страница 8
  • ГОСТ Р 54873-2011, страница 9 страница 9
  • ГОСТ Р 54873-2011, страница 10 страница 10
  • ГОСТ Р 54873-2011, страница 11 страница 11
  • ГОСТ Р 54873-2011, страница 12 страница 12