ГОСТ Р 51901.12-2007 Менеджмент риска. Метод анализа видов и последствий отказов

Категории ГОСТ Р 51901.12-2007 по ОКС:
Статус документа:
действует, введён в действие 01.09.2008
Название на английском языке:
Risk management. Procedure for failure mode and effects analysis
Дата актуализации информации по стандарту:
17.02.2014, в 19:06 (более года назад)
Вид стандарта:
Стандарты на методы контроля
Дата начала действия ГОСТа:
2008-09-01
Дата последнего издания документа:
2008-06-16
Коды документа ГОСТ Р 51901.12-2007:
Код КГС:
Т58
Число страниц:
40
Назначение ГОСТ Р 51901.12-2007:
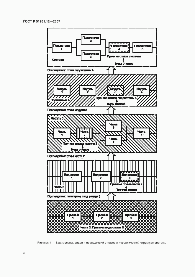
Настоящий стандарт устанавливает методы анализа видов и последствий отказов (Failure Mode and Effects Analysis - FMEA), видов, последствий и критичности отказов (Failure Mode, Effects and Criticality Analysis - FMECA) и дает рекомендации по их применению для достижения поставленных целей путем: - выполнения необходимых этапов анализа; - идентификации соответствующих терминов, предположений, показателей критичности, видов отказов; - определение основных принципов анализа; - использования примеров необходимых технологических карт или других табличных форм. Все приведенные в настоящем стандарте общие требования FMEA относятся и к FMECA, так как последний является расширением FMEA
Ключевые слова документа:
анализ видов, анализ видов и последствий отказов, вид отказа, критичность отказа, отказ, последствий и критичности отказов, резервирование, структура системы
Нормативные ссылки, связанные с ГОСТ Р 51901.12-2007:

Скачать ГОСТ Р 51901.12-2007 вы можете в следующих версиях:

Дата добавления:
Тип файла:
Загрузок:
Размер:
12/12/2011 02:03
PDF с изображениями
543
1.69 Мб

Текст стандарта

  • ГОСТ Р 51901.12-2007, страница 1 страница 1
  • ГОСТ Р 51901.12-2007, страница 2 страница 2
  • ГОСТ Р 51901.12-2007, страница 3 страница 3
  • ГОСТ Р 51901.12-2007, страница 4 страница 4
  • ГОСТ Р 51901.12-2007, страница 5 страница 5
  • ГОСТ Р 51901.12-2007, страница 6 страница 6
  • ГОСТ Р 51901.12-2007, страница 7 страница 7
  • ГОСТ Р 51901.12-2007, страница 8 страница 8
  • ГОСТ Р 51901.12-2007, страница 9 страница 9
  • ГОСТ Р 51901.12-2007, страница 10 страница 10
  • ГОСТ Р 51901.12-2007, страница 11 страница 11
  • ГОСТ Р 51901.12-2007, страница 12 страница 12
  • ГОСТ Р 51901.12-2007, страница 13 страница 13
  • ГОСТ Р 51901.12-2007, страница 14 страница 14
  • ГОСТ Р 51901.12-2007, страница 15 страница 15
  • ГОСТ Р 51901.12-2007, страница 16 страница 16
  • ГОСТ Р 51901.12-2007, страница 17 страница 17
  • ГОСТ Р 51901.12-2007, страница 18 страница 18
  • ГОСТ Р 51901.12-2007, страница 19 страница 19
  • ГОСТ Р 51901.12-2007, страница 20 страница 20
  • ГОСТ Р 51901.12-2007, страница 21 страница 21
  • ГОСТ Р 51901.12-2007, страница 22 страница 22
  • ГОСТ Р 51901.12-2007, страница 23 страница 23
  • ГОСТ Р 51901.12-2007, страница 24 страница 24
  • ГОСТ Р 51901.12-2007, страница 25 страница 25
  • ГОСТ Р 51901.12-2007, страница 26 страница 26
  • ГОСТ Р 51901.12-2007, страница 27 страница 27
  • ГОСТ Р 51901.12-2007, страница 28 страница 28
  • ГОСТ Р 51901.12-2007, страница 29 страница 29
  • ГОСТ Р 51901.12-2007, страница 30 страница 30
  • ГОСТ Р 51901.12-2007, страница 31 страница 31
  • ГОСТ Р 51901.12-2007, страница 32 страница 32
  • ГОСТ Р 51901.12-2007, страница 33 страница 33
  • ГОСТ Р 51901.12-2007, страница 34 страница 34
  • ГОСТ Р 51901.12-2007, страница 35 страница 35
  • ГОСТ Р 51901.12-2007, страница 36 страница 36
  • ГОСТ Р 51901.12-2007, страница 37 страница 37
  • ГОСТ Р 51901.12-2007, страница 38 страница 38
  • ГОСТ Р 51901.12-2007, страница 39 страница 39
  • ГОСТ Р 51901.12-2007, страница 40 страница 40