ГОСТ 3634-2019 Люки смотровых колодцев и дождеприемники ливнесточных колодцев. Технические условия

Категории ГОСТ 3634-2019 по ОКС:
Статус документа:
действует, введён в действие 01.06.2020
Название на английском языке:
Аccess manhole covers and storm-flow receivers for manholes. Specifications
Дата актуализации информации по стандарту:
24.06.2025, в 12:19 (менее полугода назад)
Вид стандарта:
временно не известен
Дата начала действия ГОСТа:
2020-06-01
Дата последнего издания документа:
2020-01-24
Число страниц:
25
Назначение ГОСТ 3634-2019:
Настоящий стандарт распространяется на люки колодцев и камер подземных инженерных коммуникаций: тепловых сетей, водопровода, канализации, дренажа, кабельной канализации, городской кабельной сети, городской телефонной сети, пожарных гидрантов, технических средств обеспечения движения, коверов, обеспечивающих доступ и защиту выходящим на поверхность земли различным устройствам трубопроводной арматуры, а также на дождеприемники ливневой канализации, предназначенные для приема поверхностных сточных вод и атмосферных осадков. Данный стандарт не распространяется на люки, дождеприемники и коверы из полимерно-песчаных композитов, пластиков, а также стеклопластиков, поливинилхлорида, полиэтилена высокого и низкого давления в различных модификациях
Документ разработан орг-ей:
Федеральное агентство по техническому регулированию и метрологии (Росстандарт)
Документ принят орг-ей:
Межгосударственный Совет по стандартизации метрологии и сертификации, протокол №122-П
Ключевые слова документа:
дождеприемники, коверы, ливнесточные колодцы, люки, смотровые колодцы, технические условия
Нормативные ссылки, связанные с ГОСТ 3634-2019:

Скачать ГОСТ 3634-2019 вы можете в следующих версиях:

В данный момент версий документа для скачивания не добавлено.

Мы стараемся пополнять базу документов еженедельно и из разных источников, в обозримом будущем версии для этого ГОСТа появятся.

Вы можете просмотреть online текст стандарта ГОСТ 3634-2019

Просмотреть текст ГОСТ 3634-2019

Поправки и изменения к ГОСТ 3634-2019:

  • Наименование, вид:
    Дата
    регистрации:
    начала действия:
  • Поправка к ГОСТ 3634-2019

    Тип изменения: Поправка
    Номер изменения:
    Регистрационный номер: -

    2021-03-15
    2021-03-15

Текст стандарта

  • ГОСТ 3634-2019, страница 1 страница 1
  • ГОСТ 3634-2019, страница 2 страница 2
  • ГОСТ 3634-2019, страница 3 страница 3
  • ГОСТ 3634-2019, страница 4 страница 4
  • ГОСТ 3634-2019, страница 5 страница 5
  • ГОСТ 3634-2019, страница 6 страница 6
  • ГОСТ 3634-2019, страница 7 страница 7
  • ГОСТ 3634-2019, страница 8 страница 8
  • ГОСТ 3634-2019, страница 9 страница 9
  • ГОСТ 3634-2019, страница 10 страница 10
  • ГОСТ 3634-2019, страница 11 страница 11
  • ГОСТ 3634-2019, страница 12 страница 12
  • ГОСТ 3634-2019, страница 13 страница 13
  • ГОСТ 3634-2019, страница 14 страница 14
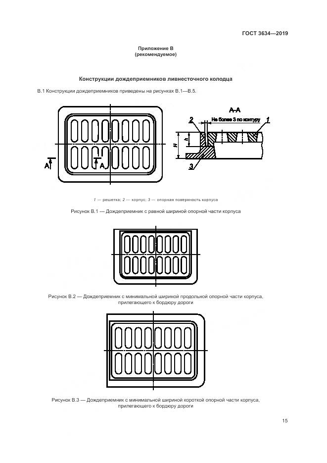
  • ГОСТ 3634-2019, страница 15 страница 15
  • ГОСТ 3634-2019, страница 16 страница 16
  • ГОСТ 3634-2019, страница 17 страница 17
  • ГОСТ 3634-2019, страница 18 страница 18
  • ГОСТ 3634-2019, страница 19 страница 19
  • ГОСТ 3634-2019, страница 20 страница 20
  • ГОСТ 3634-2019, страница 21 страница 21
  • ГОСТ 3634-2019, страница 22 страница 22
  • ГОСТ 3634-2019, страница 23 страница 23
  • ГОСТ 3634-2019, страница 24 страница 24
  • ГОСТ 3634-2019, страница 25 страница 25