ГОСТ 34497-2018 Лопатки паровых турбин. Основные требования по замене

Категории ГОСТ 34497-2018 по ОКС:
Статус документа:
действует, введён в действие 01.07.2019
Название на английском языке:
Вlades for steam turbines. Basic requirements for replacement
Дата актуализации информации по стандарту:
19.06.2025, в 22:31 (менее полугода назад)
Вид стандарта:
Стандарты на продукцию (услуги)
Дата начала действия ГОСТа:
2019-07-01
Дата последнего издания документа:
2019-04-23
Число страниц:
30
Назначение ГОСТ 34497-2018:
Настоящий стандарт распространяется на стационарные турбины любой мощности с постоянной или переменной частотой вращения ротора, эксплуатируемые на тепловых и атомных электростанциях, а также промышленных предприятиях. Стандарт устанавливает общие технические требования на замену рабочих лопаток паровых турбин, находящихся в эксплуатации. Требования стандарта не распространяются на входной контроль лопаток
Документ разработан орг-ей:
Федеральное агентство по техническому регулированию и метрологии (Росстандарт)
Документ принят орг-ей:
Межгосударственный Совет по стандартизации метрологии и сертификации, протокол №54-2018
Ключевые слова документа:
дефект, замена лопаток, рабочие лопатки, требования по замене лопаток, турбины паровые

Скачать ГОСТ 34497-2018 вы можете в следующих версиях:

В данный момент версий документа для скачивания не добавлено.

Мы стараемся пополнять базу документов еженедельно и из разных источников, в обозримом будущем версии для этого ГОСТа появятся.

Вы можете просмотреть online текст стандарта ГОСТ 34497-2018

Просмотреть текст ГОСТ 34497-2018

Текст стандарта

  • ГОСТ 34497-2018, страница 1 страница 1
  • ГОСТ 34497-2018, страница 2 страница 2
  • ГОСТ 34497-2018, страница 3 страница 3
  • ГОСТ 34497-2018, страница 4 страница 4
  • ГОСТ 34497-2018, страница 5 страница 5
  • ГОСТ 34497-2018, страница 6 страница 6
  • ГОСТ 34497-2018, страница 7 страница 7
  • ГОСТ 34497-2018, страница 8 страница 8
  • ГОСТ 34497-2018, страница 9 страница 9
  • ГОСТ 34497-2018, страница 10 страница 10
  • ГОСТ 34497-2018, страница 11 страница 11
  • ГОСТ 34497-2018, страница 12 страница 12
  • ГОСТ 34497-2018, страница 13 страница 13
  • ГОСТ 34497-2018, страница 14 страница 14
  • ГОСТ 34497-2018, страница 15 страница 15
  • ГОСТ 34497-2018, страница 16 страница 16
  • ГОСТ 34497-2018, страница 17 страница 17
  • ГОСТ 34497-2018, страница 18 страница 18
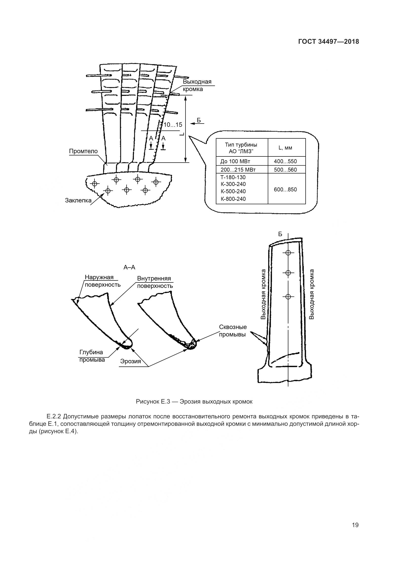
  • ГОСТ 34497-2018, страница 19 страница 19
  • ГОСТ 34497-2018, страница 20 страница 20
  • ГОСТ 34497-2018, страница 21 страница 21
  • ГОСТ 34497-2018, страница 22 страница 22
  • ГОСТ 34497-2018, страница 23 страница 23
  • ГОСТ 34497-2018, страница 24 страница 24
  • ГОСТ 34497-2018, страница 25 страница 25
  • ГОСТ 34497-2018, страница 26 страница 26
  • ГОСТ 34497-2018, страница 27 страница 27
  • ГОСТ 34497-2018, страница 28 страница 28
  • ГОСТ 34497-2018, страница 29 страница 29
  • ГОСТ 34497-2018, страница 30 страница 30