ГОСТ 27640-88 Материалы конструкционные и смазочные. Методы экспериментальной оценки коэффициента трения

Категории ГОСТ 27640-88 по ОКС:
Статус документа:
действует, введён в действие 01.01.1989
Название на английском языке:
Engineering materials and lubricants. Experimental evaluation of coefficient of friction
Дата актуализации информации по стандарту:
15.09.2019, в 11:39 (более года назад)
Вид стандарта:
Стандарты на методы контроля
Дата начала действия ГОСТа:
1989-01-01
Дата последнего издания документа:
1988-05-23
Коды документа ГОСТ 27640-88:
Код ОКП:
025300;025400
Код КГС:
Т51
Код ОКСТУ:
0023
Число страниц:
22
Назначение ГОСТ 27640-88:
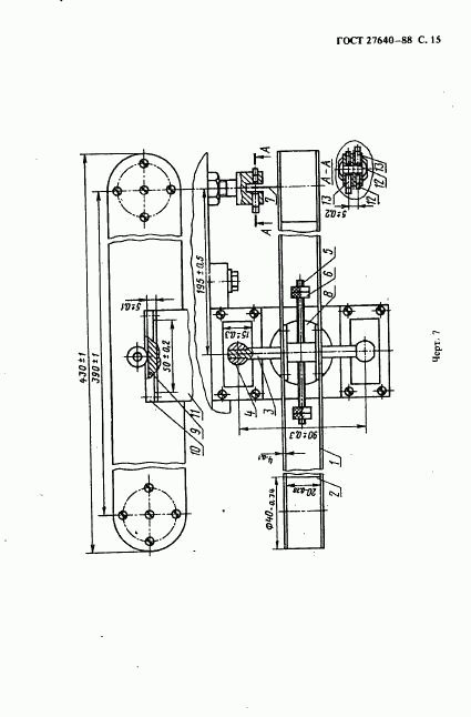
Настоящий стандарт распространяется на методы экспериментальной оценки коэффициента трения при различных видах контактного взаимодействия конструкционных и смазочных материалов, используемых в трущихся сопряжениях. Стандарт не распространяется на методы оценки коэффициентов трения в сопряжениях из пористых материалов с диаметром пор более 0,2 мм
ГРНТИ индекс(ы):
615181
Ключевые слова документа:
аппаратура, материалы конструкционные, материалы смазочные, методы экспериментальные, определение коэффициентов трения

Скачать ГОСТ 27640-88 вы можете в следующих версиях:

Тип файла:
Дата добавления:
Загрузок:
Размер:
Тип файла:
PDF с изображениями
Добавлен:
12/12/2011 02:02
Скачиваний:
150
Размер файла:
0.71 Мб
Тип файла:
PDF с изображениями
Добавлен:
12/12/2011 01:57
Скачиваний:
222
Размер файла:
0.71 Мб
  • ГОСТ 27640-88, страница 1 страница 1
  • ГОСТ 27640-88, страница 2 страница 2
  • ГОСТ 27640-88, страница 3 страница 3
  • ГОСТ 27640-88, страница 4 страница 4
  • ГОСТ 27640-88, страница 5 страница 5
  • ГОСТ 27640-88, страница 6 страница 6
  • ГОСТ 27640-88, страница 7 страница 7
  • ГОСТ 27640-88, страница 8 страница 8
  • ГОСТ 27640-88, страница 9 страница 9
  • ГОСТ 27640-88, страница 10 страница 10
  • ГОСТ 27640-88, страница 11 страница 11
  • ГОСТ 27640-88, страница 12 страница 12
  • ГОСТ 27640-88, страница 13 страница 13
  • ГОСТ 27640-88, страница 14 страница 14
  • ГОСТ 27640-88, страница 15 страница 15
  • ГОСТ 27640-88, страница 16 страница 16
  • ГОСТ 27640-88, страница 17 страница 17
  • ГОСТ 27640-88, страница 18 страница 18
  • ГОСТ 27640-88, страница 19 страница 19
  • ГОСТ 27640-88, страница 20 страница 20
  • ГОСТ 27640-88, страница 21 страница 21
  • ГОСТ 27640-88, страница 22 страница 22