ГОСТ ISO 2719-2017 Нефтепродукты и другие жидкости. Определение температуры вспышки. Методы с применением прибора Пенски-Мартенса с закрытым тиглем

Категории ГОСТ ISO 2719-2017 по ОКС:
Статус документа:
действует, введён в действие 01.01.2019
Название на английском языке:
Oil products and other liquils. Determination of flash point. Pensky-Martens closed cup methods
Дата актуализации информации по стандарту:
19.06.2025, в 19:43 (менее полугода назад)
Вид стандарта:
Стандарты на методы контроля
Дата начала действия ГОСТа:
2019-01-01
Дата последнего издания документа:
2018-11-20
Число страниц:
29
Назначение ГОСТ ISO 2719-2017:
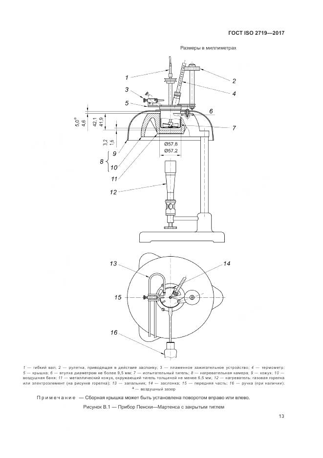
Настоящий стандарт устанавливает три метода определения температуры вспышки (А, В и C) с использованием прибора Пенски-Мартенса с закрытым тиглем горючих жидкостей, в том числе жидкостей со взвешенными твердыми частицами, жидкостей, склонных к образованию поверхностной пленки в условиях испытания, дизельного биотоплива и других жидкостей с температурой вспышки в диапазоне от 40 °С до 370 °C
Документ принят орг-ей:
Межгосударственный Совет по стандартизации метрологии и сертификации, протокол №72
Ключевые слова документа:
нефтепродукты, определение температуры вспышки, применение прибора Пенски-Мартенса
Нормативные ссылки, связанные с ГОСТ ISO 2719-2017:

Скачать ГОСТ ISO 2719-2017 вы можете в следующих версиях:

В данный момент версий документа для скачивания не добавлено.

Мы стараемся пополнять базу документов еженедельно и из разных источников, в обозримом будущем версии для этого ГОСТа появятся.

Вы можете просмотреть online текст стандарта ГОСТ ISO 2719-2017

Просмотреть текст ГОСТ ISO 2719-2017

Текст стандарта

  • ГОСТ ISO 2719-2017, страница 1 страница 1
  • ГОСТ ISO 2719-2017, страница 2 страница 2
  • ГОСТ ISO 2719-2017, страница 3 страница 3
  • ГОСТ ISO 2719-2017, страница 4 страница 4
  • ГОСТ ISO 2719-2017, страница 5 страница 5
  • ГОСТ ISO 2719-2017, страница 6 страница 6
  • ГОСТ ISO 2719-2017, страница 7 страница 7
  • ГОСТ ISO 2719-2017, страница 8 страница 8
  • ГОСТ ISO 2719-2017, страница 9 страница 9
  • ГОСТ ISO 2719-2017, страница 10 страница 10
  • ГОСТ ISO 2719-2017, страница 11 страница 11
  • ГОСТ ISO 2719-2017, страница 12 страница 12
  • ГОСТ ISO 2719-2017, страница 13 страница 13
  • ГОСТ ISO 2719-2017, страница 14 страница 14
  • ГОСТ ISO 2719-2017, страница 15 страница 15
  • ГОСТ ISO 2719-2017, страница 16 страница 16
  • ГОСТ ISO 2719-2017, страница 17 страница 17
  • ГОСТ ISO 2719-2017, страница 18 страница 18
  • ГОСТ ISO 2719-2017, страница 19 страница 19
  • ГОСТ ISO 2719-2017, страница 20 страница 20
  • ГОСТ ISO 2719-2017, страница 21 страница 21
  • ГОСТ ISO 2719-2017, страница 22 страница 22
  • ГОСТ ISO 2719-2017, страница 23 страница 23
  • ГОСТ ISO 2719-2017, страница 24 страница 24
  • ГОСТ ISO 2719-2017, страница 25 страница 25
  • ГОСТ ISO 2719-2017, страница 26 страница 26
  • ГОСТ ISO 2719-2017, страница 27 страница 27
  • ГОСТ ISO 2719-2017, страница 28 страница 28
  • ГОСТ ISO 2719-2017, страница 29 страница 29