ГОСТ 26298-84 Пресс-формы съемные этажные с коническим разъемом для изготовления резиновых колец круглого сечения. Конструкция и размеры

Категории ГОСТ 26298-84 по ОКС:
Статус документа:
действует, введён в действие 01.01.1986
Название на английском языке:
Portable ream press moulds with conical break for manufacturing of rubber O-rings section. Design and dimensions
Дата актуализации информации по стандарту:
15.09.2019, в 10:20 (более года назад)
Вид стандарта:
Стандарты на продукцию (услуги)
Дата начала действия ГОСТа:
1986-01-01
Дата последнего издания документа:
1985-01-21
Коды документа ГОСТ 26298-84:
Код ОКП:
396381
Код КГС:
Г21
Код ОКСТУ:
3963
Число страниц:
46
Назначение ГОСТ 26298-84:
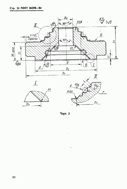
Настоящий стандарт распространяется на съемные этажные пресс-формы с коническим разъемом для изготовления резиновых колец круглого сечения внутренним диаметром от 61 до 299,5 мм из резиновых смесей с усадкой
ГРНТИ индекс(ы):
552433;553131
Этот ГОСТ входит в сборник:
Пресс-формы съемные этажные для изготовления резиновых колец круглого сечения. Конструкция и размеры
Ключевые слова документа:
изготовление колец, кольца круглого сечения, кольца резиновые, конструкция, пресс-формы съемные, пресс-формы этажные, размеры, разъем конический

Скачать ГОСТ 26298-84 вы можете в следующих версиях:

Тип файла:
Дата добавления:
Загрузок:
Размер:
Тип файла:
PDF с изображениями
Добавлен:
12/12/2011 02:01
Скачиваний:
89
Размер файла:
1.52 Мб
Тип файла:
PDF с изображениями
Добавлен:
12/12/2011 01:57
Скачиваний:
173
Размер файла:
1.94 Мб
  • ГОСТ 26298-84, страница 1 страница 1
  • ГОСТ 26298-84, страница 2 страница 2
  • ГОСТ 26298-84, страница 3 страница 3
  • ГОСТ 26298-84, страница 4 страница 4
  • ГОСТ 26298-84, страница 5 страница 5
  • ГОСТ 26298-84, страница 6 страница 6
  • ГОСТ 26298-84, страница 7 страница 7
  • ГОСТ 26298-84, страница 8 страница 8
  • ГОСТ 26298-84, страница 9 страница 9
  • ГОСТ 26298-84, страница 10 страница 10
  • ГОСТ 26298-84, страница 11 страница 11
  • ГОСТ 26298-84, страница 12 страница 12
  • ГОСТ 26298-84, страница 13 страница 13
  • ГОСТ 26298-84, страница 14 страница 14
  • ГОСТ 26298-84, страница 15 страница 15
  • ГОСТ 26298-84, страница 16 страница 16
  • ГОСТ 26298-84, страница 17 страница 17
  • ГОСТ 26298-84, страница 18 страница 18
  • ГОСТ 26298-84, страница 19 страница 19
  • ГОСТ 26298-84, страница 20 страница 20
  • ГОСТ 26298-84, страница 21 страница 21
  • ГОСТ 26298-84, страница 22 страница 22
  • ГОСТ 26298-84, страница 23 страница 23
  • ГОСТ 26298-84, страница 24 страница 24
  • ГОСТ 26298-84, страница 25 страница 25
  • ГОСТ 26298-84, страница 26 страница 26
  • ГОСТ 26298-84, страница 27 страница 27
  • ГОСТ 26298-84, страница 28 страница 28
  • ГОСТ 26298-84, страница 29 страница 29
  • ГОСТ 26298-84, страница 30 страница 30
  • ГОСТ 26298-84, страница 31 страница 31
  • ГОСТ 26298-84, страница 32 страница 32
  • ГОСТ 26298-84, страница 33 страница 33
  • ГОСТ 26298-84, страница 34 страница 34
  • ГОСТ 26298-84, страница 35 страница 35
  • ГОСТ 26298-84, страница 36 страница 36
  • ГОСТ 26298-84, страница 37 страница 37
  • ГОСТ 26298-84, страница 38 страница 38
  • ГОСТ 26298-84, страница 39 страница 39
  • ГОСТ 26298-84, страница 40 страница 40
  • ГОСТ 26298-84, страница 41 страница 41
  • ГОСТ 26298-84, страница 42 страница 42
  • ГОСТ 26298-84, страница 43 страница 43
  • ГОСТ 26298-84, страница 44 страница 44
  • ГОСТ 26298-84, страница 45 страница 45
  • ГОСТ 26298-84, страница 46 страница 46