ГОСТ 26140-84 Аппараты рентгеновские медицинские. Общие технические условия

Категории ГОСТ 26140-84 по ОКС:
Статус документа:
действует, введён в действие 01.07.1985
Название на английском языке:
X-ray medical apparatus. General specifications
Дата актуализации информации по стандарту:
15.09.2019, в 10:16 (более года назад)
Вид стандарта:
Стандарты на продукцию (услуги)
Дата начала действия ГОСТа:
1985-07-01
Дата последнего издания документа:
1990-08-01
Коды документа ГОСТ 26140-84:
Код ОКП:
944220;944452
Код КГС:
Е84
Число страниц:
53
Назначение ГОСТ 26140-84:
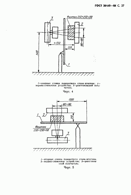
Настоящий стандарт распространяется на медицинские рентгеновские аппараты и комплексы с анодным напряжением рентгеновской трубки от 10 до 400 кВ, предназначенные для рентгенодиагностики и рентгенотерапии, с питанием электрической энергией от источников переменного тока. Стандарт не распространяется на импульсные аппараты с длительностью импульса менее 0,1 мс, на вычислительные томографы, на аппараты с накопителями энергии и преобразованием частоты в главной цепи, а также на дентальные рентгеновские аппараты с анодным напряжением свыше 125 кВ, электрорентгенографические и перевозимые аппараты
ГРНТИ индекс(ы):
594539
Документ разработан орг-ей:
Министерство приборостроения, средств автоматизации и систем управления СССР
Ссылки на прочие:
Нормы 8-72;НРБ-76/87;Нормы № 3057-84

Скачать ГОСТ 26140-84 вы можете в следующих версиях:

Тип файла:
Дата добавления:
Загрузок:
Размер:
Тип файла:
PDF с изображениями
Добавлен:
12/12/2011 02:01
Скачиваний:
267
Размер файла:
1.68 Мб

Поправки и изменения к ГОСТ 26140-84:

  • Наименование, вид:
    Дата
    регистрации:
    начала действия:
  • Изменение №1 к ГОСТ 26140-84

    Тип изменения: Текстовое изменение
    Номер изменения: 1
    Регистрационный номер: 28

    1986-01-07
    1986-04-01
  • Изменение №2 к ГОСТ 26140-84

    Тип изменения: Текстовое изменение
    Номер изменения: 2
    Регистрационный номер: 123
    Новое значение: -

    1988-01-27
    1988-07-01
  • Изменение №3 к ГОСТ 26140-84

    Тип изменения: Текстовое изменение
    Номер изменения: 3
    Регистрационный номер: 3429
    Новое значение: -

    1989-11-23
    1990-07-01
  • ГОСТ 26140-84, страница 1 страница 1
  • ГОСТ 26140-84, страница 2 страница 2
  • ГОСТ 26140-84, страница 3 страница 3
  • ГОСТ 26140-84, страница 4 страница 4
  • ГОСТ 26140-84, страница 5 страница 5
  • ГОСТ 26140-84, страница 6 страница 6
  • ГОСТ 26140-84, страница 7 страница 7
  • ГОСТ 26140-84, страница 8 страница 8
  • ГОСТ 26140-84, страница 9 страница 9
  • ГОСТ 26140-84, страница 10 страница 10
  • ГОСТ 26140-84, страница 11 страница 11
  • ГОСТ 26140-84, страница 12 страница 12
  • ГОСТ 26140-84, страница 13 страница 13
  • ГОСТ 26140-84, страница 14 страница 14
  • ГОСТ 26140-84, страница 15 страница 15
  • ГОСТ 26140-84, страница 16 страница 16
  • ГОСТ 26140-84, страница 17 страница 17
  • ГОСТ 26140-84, страница 18 страница 18
  • ГОСТ 26140-84, страница 19 страница 19
  • ГОСТ 26140-84, страница 20 страница 20
  • ГОСТ 26140-84, страница 21 страница 21
  • ГОСТ 26140-84, страница 22 страница 22
  • ГОСТ 26140-84, страница 23 страница 23
  • ГОСТ 26140-84, страница 24 страница 24
  • ГОСТ 26140-84, страница 25 страница 25
  • ГОСТ 26140-84, страница 26 страница 26
  • ГОСТ 26140-84, страница 27 страница 27
  • ГОСТ 26140-84, страница 28 страница 28
  • ГОСТ 26140-84, страница 29 страница 29
  • ГОСТ 26140-84, страница 30 страница 30
  • ГОСТ 26140-84, страница 31 страница 31
  • ГОСТ 26140-84, страница 32 страница 32
  • ГОСТ 26140-84, страница 33 страница 33
  • ГОСТ 26140-84, страница 34 страница 34
  • ГОСТ 26140-84, страница 35 страница 35
  • ГОСТ 26140-84, страница 36 страница 36
  • ГОСТ 26140-84, страница 37 страница 37
  • ГОСТ 26140-84, страница 38 страница 38
  • ГОСТ 26140-84, страница 39 страница 39
  • ГОСТ 26140-84, страница 40 страница 40
  • ГОСТ 26140-84, страница 41 страница 41
  • ГОСТ 26140-84, страница 42 страница 42
  • ГОСТ 26140-84, страница 43 страница 43
  • ГОСТ 26140-84, страница 44 страница 44
  • ГОСТ 26140-84, страница 45 страница 45
  • ГОСТ 26140-84, страница 46 страница 46
  • ГОСТ 26140-84, страница 47 страница 47
  • ГОСТ 26140-84, страница 48 страница 48
  • ГОСТ 26140-84, страница 49 страница 49
  • ГОСТ 26140-84, страница 50 страница 50
  • ГОСТ 26140-84, страница 51 страница 51
  • ГОСТ 26140-84, страница 52 страница 52
  • ГОСТ 26140-84, страница 53 страница 53