ГОСТ 26007-83 Расчеты и испытания на прочность. Методы механических испытаний металлов. Методы испытания на релаксацию напряжений

Категории ГОСТ 26007-83 по ОКС:
Статус документа:
действует, введён в действие 01.01.1985
Название на английском языке:
Design, calculation and strength testing. Methods of mechanical testing of metals. Methods for stress relaxation testing
Дата актуализации информации по стандарту:
15.09.2019, в 10:13 (более года назад)
Вид стандарта:
Стандарты на методы контроля
Дата начала действия ГОСТа:
1985-01-01
Дата последнего издания документа:
1984-03-26
Коды документа ГОСТ 26007-83:
Код ОКП:
410000
Код КГС:
В09
Код ОКСТУ:
4109
Число страниц:
20
Назначение ГОСТ 26007-83:
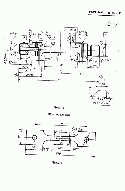
Настоящий стандарт устанавливает методы испытаний на релаксацию напряжений при температуре до 1200 град. С при растяжении, изгибе и кручении черных и цветных металлов и сплавов. Настоящий стандарт не распространяется на элементы конструкций машин, приборов и аппаратов
ГРНТИ индекс(ы):
530181;550181
Документ разработан орг-ей:
Минэнергомаш
Ключевые слова документа:
испытания на релаксацию напряжения, механические испытания на прочность

Скачать ГОСТ 26007-83 вы можете в следующих версиях:

Тип файла:
Дата добавления:
Загрузок:
Размер:
Тип файла:
PDF с изображениями
Добавлен:
12/12/2011 02:01
Скачиваний:
128
Размер файла:
0.58 Мб
Тип файла:
PDF с изображениями
Добавлен:
12/12/2011 01:57
Скачиваний:
193
Размер файла:
0.56 Мб
  • ГОСТ 26007-83, страница 1 страница 1
  • ГОСТ 26007-83, страница 2 страница 2
  • ГОСТ 26007-83, страница 3 страница 3
  • ГОСТ 26007-83, страница 4 страница 4
  • ГОСТ 26007-83, страница 5 страница 5
  • ГОСТ 26007-83, страница 6 страница 6
  • ГОСТ 26007-83, страница 7 страница 7
  • ГОСТ 26007-83, страница 8 страница 8
  • ГОСТ 26007-83, страница 9 страница 9
  • ГОСТ 26007-83, страница 10 страница 10
  • ГОСТ 26007-83, страница 11 страница 11
  • ГОСТ 26007-83, страница 12 страница 12
  • ГОСТ 26007-83, страница 13 страница 13
  • ГОСТ 26007-83, страница 14 страница 14
  • ГОСТ 26007-83, страница 15 страница 15
  • ГОСТ 26007-83, страница 16 страница 16
  • ГОСТ 26007-83, страница 17 страница 17
  • ГОСТ 26007-83, страница 18 страница 18
  • ГОСТ 26007-83, страница 19 страница 19
  • ГОСТ 26007-83, страница 20 страница 20