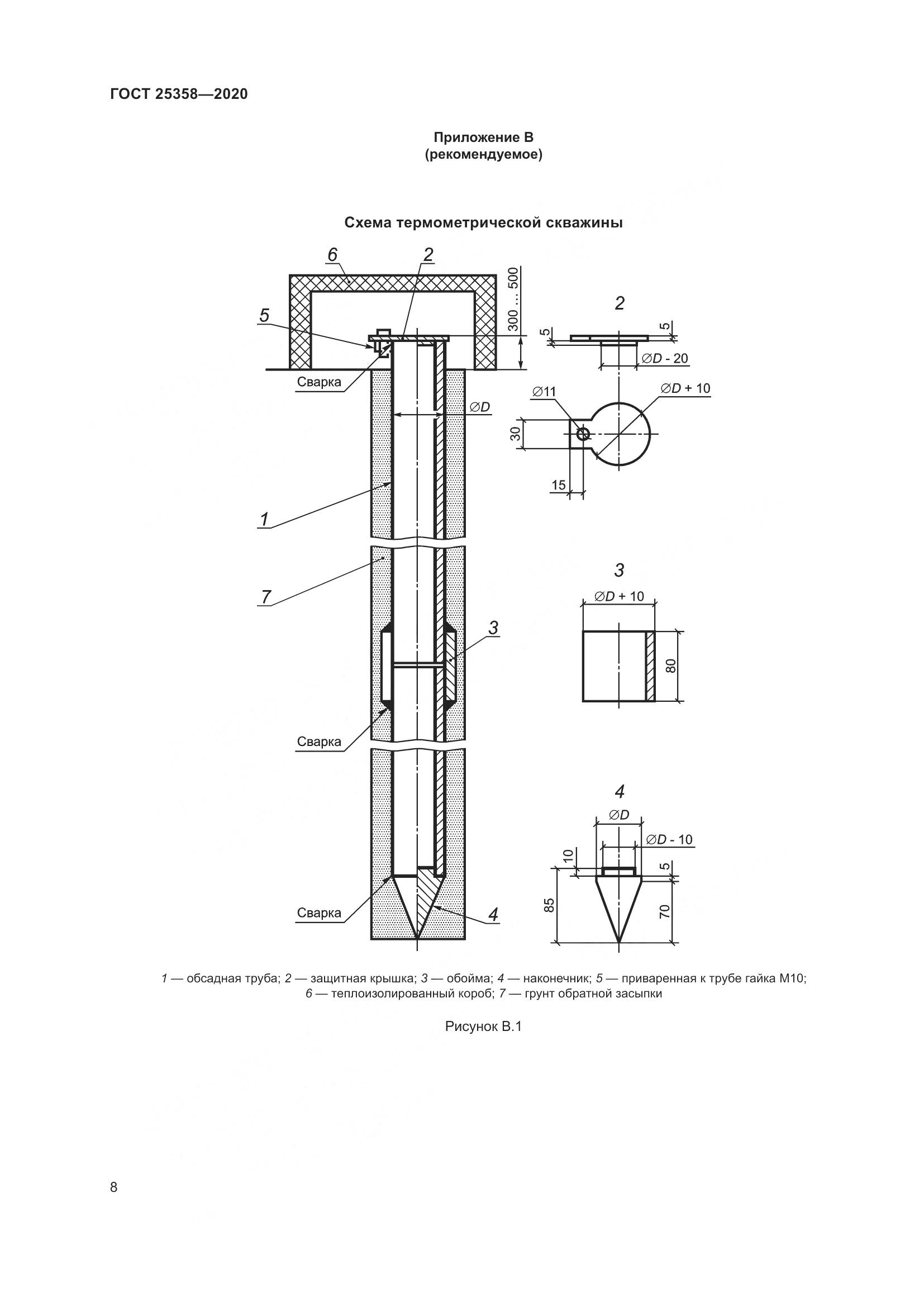
ГОСТ 25358-2020 Грунты. Метод полевого определения температуры

Категории ГОСТ 25358-2020 по ОКС:
Статус документа:
действует, введён в действие 01.06.2021
Название на английском языке:
Soils. Field method of determining the temperature
Дата актуализации информации по стандарту:
11.08.2025, в 13:32 (менее 3 месяцев назад)
Вид стандарта:
временно не известен
Дата начала действия ГОСТа:
2021-06-01
Число страниц:
17
Назначение ГОСТ 25358-2020:
не указано
Нормативные ссылки, связанные с ГОСТ 25358-2020:

Скачать ГОСТ 25358-2020 вы можете в следующих версиях:

В данный момент версий документа для скачивания не добавлено.

Мы стараемся пополнять базу документов еженедельно и из разных источников, в обозримом будущем версии для этого ГОСТа появятся.

Вы можете просмотреть online текст стандарта ГОСТ 25358-2020

Просмотреть текст ГОСТ 25358-2020

Текст стандарта

  • ГОСТ 25358-2020, страница 1 страница 1
  • ГОСТ 25358-2020, страница 2 страница 2
  • ГОСТ 25358-2020, страница 3 страница 3
  • ГОСТ 25358-2020, страница 4 страница 4
  • ГОСТ 25358-2020, страница 5 страница 5
  • ГОСТ 25358-2020, страница 6 страница 6
  • ГОСТ 25358-2020, страница 7 страница 7
  • ГОСТ 25358-2020, страница 8 страница 8
  • ГОСТ 25358-2020, страница 9 страница 9
  • ГОСТ 25358-2020, страница 10 страница 10
  • ГОСТ 25358-2020, страница 11 страница 11
  • ГОСТ 25358-2020, страница 12 страница 12
  • ГОСТ 25358-2020, страница 13 страница 13
  • ГОСТ 25358-2020, страница 14 страница 14
  • ГОСТ 25358-2020, страница 15 страница 15
  • ГОСТ 25358-2020, страница 16 страница 16
  • ГОСТ 25358-2020, страница 17 страница 17