ГОСТ 25154-82 Зажимы контактные наборные с плоскими выводами. Конструкция, основные параметры и размеры

Категории ГОСТ 25154-82 по ОКС:
Статус документа:
действует, введён в действие 01.01.1984
Название на английском языке:
Terminal contact blocks with flat terminals. Design, main parametrs and dimensions
Дата актуализации информации по стандарту:
14.09.2019, в 17:53 (более года назад)
Вид стандарта:
Стандарты на продукцию (услуги)
Дата начала действия ГОСТа:
1984-01-01
Дата последнего издания документа:
1982-05-24
Коды документа ГОСТ 25154-82:
Код ОКП:
342949
Код КГС:
Е71
Код ОКСТУ:
3424
Число страниц:
38
Назначение ГОСТ 25154-82:
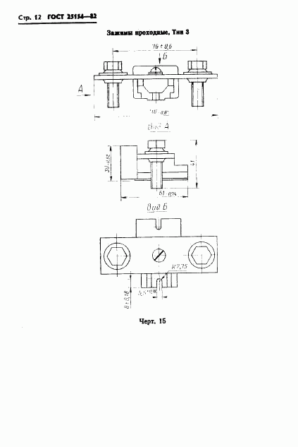
Настоящий стандарт распространяется на наборные контактные зажимы с плоскими выводами проходные и специальные (мостиковые, разъединительные и измерительные) и колодки торцовые зажимов, соединяемые в разборные блоки, и на неразборные блоки, предназначенные для присоединения и ответвления проводников из меди, алюмомедных, алюминиевых и из алюминиевых сплавов сечением от 0,35 до 370 мм кв.
ГРНТИ индекс(ы):
454741
Ключевые слова документа:
колодки торцовые зажимов, наборные контактные зажимы, плоские выводы проходные, плоские выводы специальные
Нормативные ссылки, связанные с ГОСТ 25154-82:

Скачать ГОСТ 25154-82 вы можете в следующих версиях:

Дата добавления:
Тип файла:
Загрузок:
Размер:
12/12/2011 02:01
PDF с изображениями
150
0.71 Мб

Текст стандарта

  • ГОСТ 25154-82, страница 1 страница 1
  • ГОСТ 25154-82, страница 2 страница 2
  • ГОСТ 25154-82, страница 3 страница 3
  • ГОСТ 25154-82, страница 4 страница 4
  • ГОСТ 25154-82, страница 5 страница 5
  • ГОСТ 25154-82, страница 6 страница 6
  • ГОСТ 25154-82, страница 7 страница 7
  • ГОСТ 25154-82, страница 8 страница 8
  • ГОСТ 25154-82, страница 9 страница 9
  • ГОСТ 25154-82, страница 10 страница 10
  • ГОСТ 25154-82, страница 11 страница 11
  • ГОСТ 25154-82, страница 12 страница 12
  • ГОСТ 25154-82, страница 13 страница 13
  • ГОСТ 25154-82, страница 14 страница 14
  • ГОСТ 25154-82, страница 15 страница 15
  • ГОСТ 25154-82, страница 16 страница 16
  • ГОСТ 25154-82, страница 17 страница 17
  • ГОСТ 25154-82, страница 18 страница 18
  • ГОСТ 25154-82, страница 19 страница 19
  • ГОСТ 25154-82, страница 20 страница 20
  • ГОСТ 25154-82, страница 21 страница 21
  • ГОСТ 25154-82, страница 22 страница 22
  • ГОСТ 25154-82, страница 23 страница 23
  • ГОСТ 25154-82, страница 24 страница 24
  • ГОСТ 25154-82, страница 25 страница 25
  • ГОСТ 25154-82, страница 26 страница 26
  • ГОСТ 25154-82, страница 27 страница 27
  • ГОСТ 25154-82, страница 28 страница 28
  • ГОСТ 25154-82, страница 29 страница 29
  • ГОСТ 25154-82, страница 30 страница 30
  • ГОСТ 25154-82, страница 31 страница 31
  • ГОСТ 25154-82, страница 32 страница 32
  • ГОСТ 25154-82, страница 33 страница 33
  • ГОСТ 25154-82, страница 34 страница 34
  • ГОСТ 25154-82, страница 35 страница 35
  • ГОСТ 25154-82, страница 36 страница 36
  • ГОСТ 25154-82, страница 37 страница 37
  • ГОСТ 25154-82, страница 38 страница 38