ГОСТ 24186-80 Фланцы. Конструкция

Категории ГОСТ 24186-80 по ОКС:
Статус документа:
действует, введён в действие 01.07.1981
Название на английском языке:
Flanges. Design
Дата актуализации информации по стандарту:
14.09.2019, в 13:20 (более года назад)
Вид стандарта:
Стандарты на продукцию (услуги)
Дата начала действия ГОСТа:
1981-07-01
Дата последнего издания документа:
1988-05-01
Коды документа ГОСТ 24186-80:
Код ОКП:
483471
Код КГС:
Г18
Код ОКСТУ:
3706;9471
Число страниц:
8
Назначение ГОСТ 24186-80:
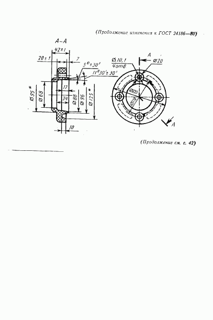
Настоящий стандарт распространяется на фланцы, применяемые для соединения стеклянных труб с гладкими концами
ГРНТИ индекс(ы):
733935
Документ разработан орг-ей:
Министерство монтажных и специальных строительных работ СССР
Этот ГОСТ входит в сборник:
Соединительные и крепежные детали стеклянных трубопроводов. Конструкция, основные размеры и технические условия

Скачать ГОСТ 24186-80 вы можете в следующих версиях:

Тип файла:
Дата добавления:
Загрузок:
Размер:
Тип файла:
PDF с изображениями
Добавлен:
12/12/2011 01:57
Скачиваний:
246
Размер файла:
0.14 Мб
Тип файла:
PDF с изображениями
Добавлен:
12/12/2011 02:01
Скачиваний:
310
Размер файла:
0.29 Мб

Поправки и изменения к ГОСТ 24186-80:

  • Наименование, вид:
    Дата
    регистрации:
    начала действия:
  • Изменение №1 к ГОСТ 24186-80

    Тип изменения: Текстовое изменение
    Номер изменения: 1
    Регистрационный номер: 153
    Новое значение: -

    1988-01-28
    1988-07-01
  • Изменение №2 к ГОСТ 24186-80

    Тип изменения: Текстовое изменение; Изменено заглавие
    Номер изменения: 2
    Регистрационный номер: 2977
    Старое значение: Флaнцы плacтмaccoвыe нa тpи нaтяжныx кoльцa. Koнcтpyкцияи ocнoвныe paзмepы
    Новое значение: Cм. зaглaвиe

    1990-11-28
    1991-07-01
  • ГОСТ 24186-80, страница 1 страница 1
  • ГОСТ 24186-80, страница 2 страница 2
  • ГОСТ 24186-80, страница 3 страница 3
  • ГОСТ 24186-80, страница 4 страница 4
  • ГОСТ 24186-80, страница 5 страница 5
  • ГОСТ 24186-80, страница 6 страница 6
  • ГОСТ 24186-80, страница 7 страница 7
  • ГОСТ 24186-80, страница 8 страница 8