ГОСТ 22803-83 Сборочные единицы и детали трубопроводов. Тройники переходные несимметричные с фланцами на Ру св. 10 до 100 МПа (св. 100 до 1000 кгс/см кв.). Конструкция и размеры

Категории ГОСТ 22803-83 по ОКС:
Статус документа:
действует, введён в действие 01.01.1985
Название на английском языке:
Assembly units and pipeline parts. Flanged asymmetric reducing T-branches for Pnom 9,81-98,1 MPa (100-1000 kgf/sm sq). Construction and dimensions
Дата актуализации информации по стандарту:
13.09.2019, в 16:33 (более года назад)
Вид стандарта:
Стандарты на продукцию (услуги)
Дата начала действия ГОСТа:
1985-01-01
Дата последнего издания документа:
1991-07-01
Коды документа ГОСТ 22803-83:
Код ОКП:
364700
Код КГС:
Г18
Код ОКСТУ:
3702
Число страниц:
10
Назначение ГОСТ 22803-83:
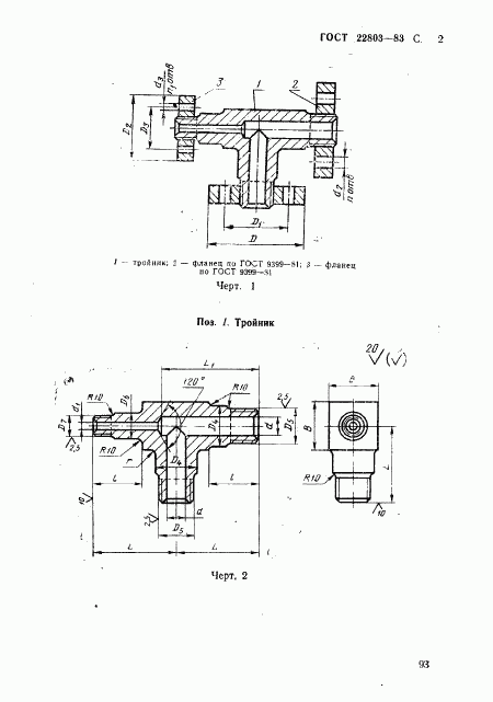
Настоящий стандарт распространяется на переходные несимметричные тройники с резьбовыми фланцами для трубопроводов с линзовым уплотнением, применяемых на предприятиях отраслей нефтехимической промышленности и для производства минеральных удобрений
ГРНТИ индекс(ы):
733935
Документ разработан орг-ей:
Министерство химического и нефтяного машиностроения
Этот ГОСТ входит в сборник:
Сборочные единицы и детали трубопроводов на Ру св. 10 до 100 МПа (св. 100 до 1000 кгс/см кв). Конструкция и размеры. Общие технические условия

Скачать ГОСТ 22803-83 вы можете в следующих версиях:

Тип файла:
Дата добавления:
Загрузок:
Размер:
Тип файла:
PDF с изображениями
Добавлен:
12/12/2011 02:00
Скачиваний:
173
Размер файла:
0.41 Мб
Тип файла:
PDF с изображениями
Добавлен:
12/12/2011 01:57
Скачиваний:
195
Размер файла:
0.3 Мб

Поправки и изменения к ГОСТ 22803-83:

  • Наименование, вид:
    Дата
    регистрации:
    начала действия:
  • Изменение №1 к ГОСТ 22803-83

    Тип изменения: Текстовое изменение
    Номер изменения: 1
    Регистрационный номер: 4522
    Новое значение: -

    1988-12-23
    1989-07-01
  • ГОСТ 22803-83, страница 1 страница 1
  • ГОСТ 22803-83, страница 2 страница 2
  • ГОСТ 22803-83, страница 3 страница 3
  • ГОСТ 22803-83, страница 4 страница 4
  • ГОСТ 22803-83, страница 5 страница 5
  • ГОСТ 22803-83, страница 6 страница 6
  • ГОСТ 22803-83, страница 7 страница 7
  • ГОСТ 22803-83, страница 8 страница 8
  • ГОСТ 22803-83, страница 9 страница 9
  • ГОСТ 22803-83, страница 10 страница 10