ГОСТ 19310-98
ГОСТ 19310-98 Выталкиватели для центробежных изложниц. Конструкция и размеры
Категории ГОСТ 19310-98 по ОКС:- Статус документа:
- действует, введён в действие 01.01.2000
- Название на английском языке:
- Pushers for centrifugal moulds. Construction and dimensions
- Дата актуализации информации по стандарту:
- 12.09.2019, в 18:54 (более года назад)
- Вид стандарта:
- Стандарты на продукцию (услуги)
- Дата начала действия ГОСТа:
- 2000-01-01
- Дата последнего издания документа:
- 1999-09-16
Коды документа ГОСТ 19310-98:
- Код ОКП:
- 396660
- Код КГС:
- Г21
- Число страниц:
- 7
- Назначение ГОСТ 19310-98:
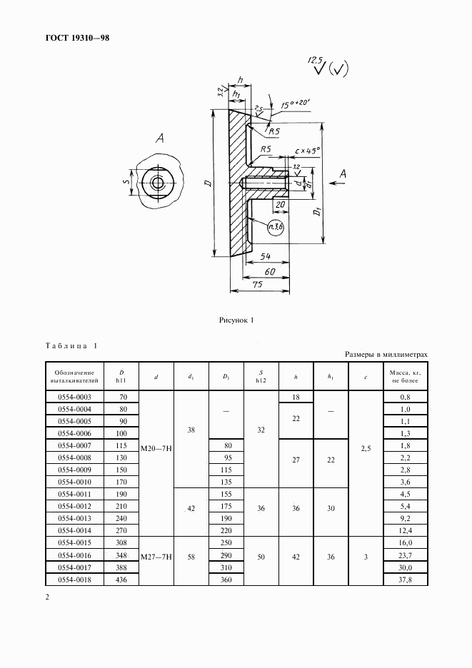
- Настоящий стандарт распространяется на выталкиватели, применяемые в центробежных изложницах для выталкивания отливок. Стандарт пригоден для целей сертификации
- ГРНТИ индекс(ы):
- 551519
- Документ разработан орг-ей:
- Госстандарт России
- Документ принят орг-ей:
- Межгосударственный Совет по стандартизации метрологии и сертификации, протокол №14-98
- Ключевые слова документа:
- выталкиватели для центробежных изложниц, конструкция и размеры, центробежные изложницы
Нормативные ссылки, связанные с ГОСТ 19310-98:
- Стандарт ссылается на ГОСТы:
- ГОСТ 19316-98, ГОСТ 1412-85, ГОСТ 977-88, ГОСТ 24705-81
- На стандарт ссылаются:
- ГОСТ 19307-73, ГОСТ 19305-73, ГОСТ 19316-98, ГОСТ 19309-98, ГОСТ 19308-98, ГОСТ 19306-98
Скачать ГОСТ 19310-98 вы можете в следующих версиях:
Тип файла:
Дата добавления:
Загрузок:
Размер:
Ссылка на скачивание:
Добавлен:
12/12/2011 02:00
Скачиваний:
121
Размер файла:
0.29 Мб
Ссылка для скачивания:
Добавлен:
12/12/2011 01:57
Скачиваний:
129
Размер файла:
0.11 Мб
Ссылка для скачивания:
-
страница 1
-
страница 2
-
страница 3
-
страница 4
-
страница 5
-
страница 6
-
страница 7