ГОСТ 19191-73 Талрепы с автоматическим стопорением. Технические условия

Категории ГОСТ 19191-73 по ОКС:
Статус документа:
действует, введён в действие 01.01.1975
Название на английском языке:
Rigging screws with automatic stopping. Specifications
Дата актуализации информации по стандарту:
12.09.2019, в 18:52 (более года назад)
Вид стандарта:
Стандарты на продукцию (услуги)
Дата начала действия ГОСТа:
1975-01-01
Дата последнего издания документа:
1989-03-20
Коды документа ГОСТ 19191-73:
Код ОКП:
317800
Код КГС:
Г86
Код ОКСТУ:
3178
Число страниц:
46
Назначение ГОСТ 19191-73:
Настоящий стандарт распространяется на талрепы с автоматическим стопорением от самоотвинчивания, предназначенные для жесткого разъемного закрепления контейнеров и других подобных грузов, работающие при температуре от плюс 50 до минус 50 град. С. Стандарт не распространяется на талрепы, скрепляющие контейнеры гибкими связями (канатами, тросами, цепями и т.д.), а также на талрепы, работающие в условиях тропического климата, агрессивных средствах и влажности более 98% при 20 град. С
ГРНТИ индекс(ы):
555199

Скачать ГОСТ 19191-73 вы можете в следующих версиях:

Тип файла:
Дата добавления:
Загрузок:
Размер:
Тип файла:
PDF с изображениями
Добавлен:
12/12/2011 01:59
Скачиваний:
330
Размер файла:
1.01 Мб
Тип файла:
PDF с изображениями
Добавлен:
12/12/2011 01:57
Скачиваний:
369
Размер файла:
1.11 Мб

Поправки и изменения к ГОСТ 19191-73:

  • Наименование, вид:
    Дата
    регистрации:
    начала действия:
  • Изменение №1 к ГОСТ 19191-73

    Тип изменения: Текстовое изменение
    Номер изменения: 1
    Регистрационный номер: 785
    Новое значение: -

    1983-02-14
    1984-01-01
  • Изменение №2 к ГОСТ 19191-73

    Тип изменения: Текстовое изменение
    Номер изменения: 2
    Регистрационный номер: 2252
    Новое значение: -

    1988-06-24
    1989-01-01
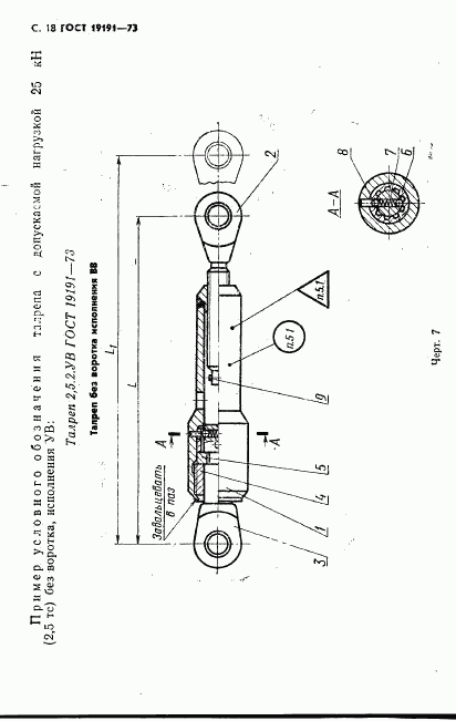
  • ГОСТ 19191-73, страница 1 страница 1
  • ГОСТ 19191-73, страница 2 страница 2
  • ГОСТ 19191-73, страница 3 страница 3
  • ГОСТ 19191-73, страница 4 страница 4
  • ГОСТ 19191-73, страница 5 страница 5
  • ГОСТ 19191-73, страница 6 страница 6
  • ГОСТ 19191-73, страница 7 страница 7
  • ГОСТ 19191-73, страница 8 страница 8
  • ГОСТ 19191-73, страница 9 страница 9
  • ГОСТ 19191-73, страница 10 страница 10
  • ГОСТ 19191-73, страница 11 страница 11
  • ГОСТ 19191-73, страница 12 страница 12
  • ГОСТ 19191-73, страница 13 страница 13
  • ГОСТ 19191-73, страница 14 страница 14
  • ГОСТ 19191-73, страница 15 страница 15
  • ГОСТ 19191-73, страница 16 страница 16
  • ГОСТ 19191-73, страница 17 страница 17
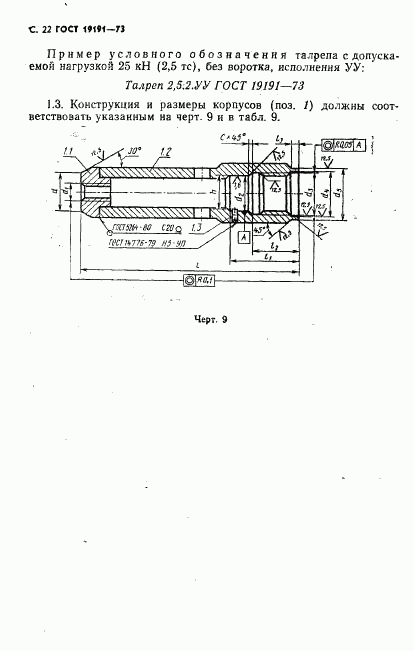
  • ГОСТ 19191-73, страница 18 страница 18
  • ГОСТ 19191-73, страница 19 страница 19
  • ГОСТ 19191-73, страница 20 страница 20
  • ГОСТ 19191-73, страница 21 страница 21
  • ГОСТ 19191-73, страница 22 страница 22
  • ГОСТ 19191-73, страница 23 страница 23
  • ГОСТ 19191-73, страница 24 страница 24
  • ГОСТ 19191-73, страница 25 страница 25
  • ГОСТ 19191-73, страница 26 страница 26
  • ГОСТ 19191-73, страница 27 страница 27
  • ГОСТ 19191-73, страница 28 страница 28
  • ГОСТ 19191-73, страница 29 страница 29
  • ГОСТ 19191-73, страница 30 страница 30
  • ГОСТ 19191-73, страница 31 страница 31
  • ГОСТ 19191-73, страница 32 страница 32
  • ГОСТ 19191-73, страница 33 страница 33
  • ГОСТ 19191-73, страница 34 страница 34
  • ГОСТ 19191-73, страница 35 страница 35
  • ГОСТ 19191-73, страница 36 страница 36
  • ГОСТ 19191-73, страница 37 страница 37
  • ГОСТ 19191-73, страница 38 страница 38
  • ГОСТ 19191-73, страница 39 страница 39
  • ГОСТ 19191-73, страница 40 страница 40
  • ГОСТ 19191-73, страница 41 страница 41
  • ГОСТ 19191-73, страница 42 страница 42
  • ГОСТ 19191-73, страница 43 страница 43
  • ГОСТ 19191-73, страница 44 страница 44