ГОСТ 18816-80
ГОСТ 18816-80 Штыри транспортные резьбовые. Конструкция и размеры
Категории ГОСТ 18816-80 по ОКС:- Статус документа:
- действует, введён в действие 01.01.1982
- Название на английском языке:
- Handling threaded dowel. Design and dimensions
- Дата актуализации информации по стандарту:
- 12.09.2019, в 18:43 (более года назад)
- Вид стандарта:
- Стандарты на продукцию (услуги)
- Дата начала действия ГОСТа:
- 1982-01-01
- Дата последнего издания документа:
- 1986-12-01
Коды документа ГОСТ 18816-80:
- Код ОКП:
- 396330
- Код КГС:
- Г22
- Код ОКСТУ:
- 3963
- Число страниц:
- 3
- Назначение ГОСТ 18816-80:
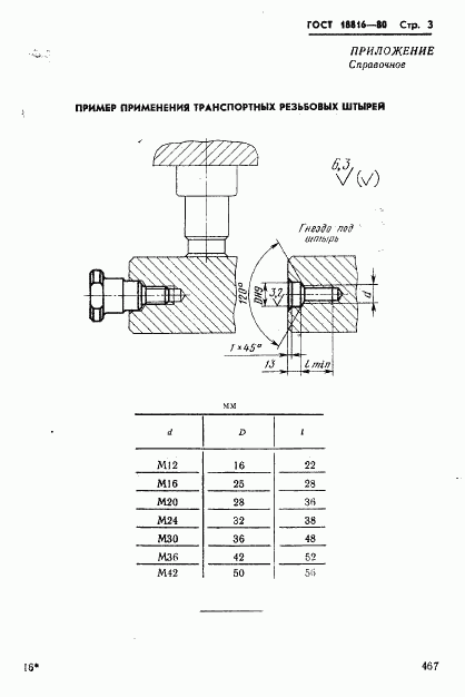
- Настоящий стандарт распространяется на штампы листовой штамповки и устанавливает конструкцию и размеры штырей транспортных резьбовых
- ГРНТИ индекс(ы):
- 553131
- Этот ГОСТ входит в сборник:
- Штампы листовой штамповки. Детали и сборочные единицы
Нормативные ссылки, связанные с ГОСТ 18816-80:
- На стандарт ссылаются:
- ГОСТ 20926-75, ГОСТ 20925-75, ГОСТ 17663-72, ГОСТ 17662-72, ГОСТ 14674-83, ГОСТ 14673-83, ГОСТ 14672-83
Скачать ГОСТ 18816-80 вы можете в следующих версиях:
Тип файла:
Дата добавления:
Загрузок:
Размер:
Ссылка на скачивание:
Добавлен:
12/12/2011 01:59
Скачиваний:
234
Размер файла:
0.25 Мб
Ссылка для скачивания:
Добавлен:
12/12/2011 01:59
Скачиваний:
237
Размер файла:
0.25 Мб
Ссылка для скачивания:
Добавлен:
12/12/2011 01:57
Скачиваний:
249
Размер файла:
0.1 Мб
Ссылка для скачивания:
-
страница 1
-
страница 2
-
страница 3