ГОСТ 15086-69 Фрезы концевые обдирочные с коническим хвостовиком. Технические условия

Категории ГОСТ 15086-69 по ОКС:
Статус документа:
действует, введён в действие 01.07.1971
Название на английском языке:
Heavy-duty taper shank end mills. Specifications
Дата актуализации информации по стандарту:
05.08.2025, в 21:12 (менее полугода назад)
Вид стандарта:
Стандарты на продукцию (услуги)
Дата начала действия ГОСТа:
1971-07-01
Дата последнего издания документа:
1991-08-01
Коды документа ГОСТ 15086-69:
Код ОКП:
391824
Код КГС:
Г23
Код ОКСТУ:
3918
Число страниц:
21
Назначение ГОСТ 15086-69:
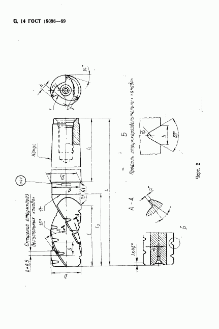
Настоящий стандарт распространяется на фрезы, предназначенные для обработки грубых поверхностей заготовок, получаемых литьем, свободной ковкой, и поверхностей с большой шириной фрезерования, а также для фрезерования с увеличенными подачами
ГРНТИ индекс(ы):
553129
Ссылки на прочие:
ОСТ 1015;ОСТ 1010

Скачать ГОСТ 15086-69 вы можете в следующих версиях:

Тип файла:
Дата добавления:
Загрузок:
Размер:
Тип файла:
PDF с изображениями
Добавлен:
12/12/2011 01:59
Скачиваний:
283
Размер файла:
0.57 Мб
Тип файла:
PDF с изображениями
Добавлен:
12/12/2011 01:57
Скачиваний:
286
Размер файла:
0.52 Мб

Поправки и изменения к ГОСТ 15086-69:

  • Наименование, вид:
    Дата
    регистрации:
    начала действия:
  • Изменение №2 к ГОСТ 15086-69

    Тип изменения: Текстовое изменение
    Номер изменения: 2
    Регистрационный номер: 1658

    1972-08-28
    1973-01-01
  • Изменение №3 к ГОСТ 15086-69

    Тип изменения: Текстовое изменение
    Номер изменения: 3
    Регистрационный номер: 6151

    1980-12-30
    1981-04-01
  • Изменение №4 к ГОСТ 15086-69

    Тип изменения: Текстовое изменение
    Номер изменения: 4
    Регистрационный номер: 1155
    Новое значение: -

    1987-04-06
    1987-09-01
  • Изменение №5 к ГОСТ 15086-69

    Тип изменения: Текстовое изменение
    Номер изменения: 5
    Регистрационный номер: 3430
    Новое значение: -

    1989-11-23
    1990-05-01
  • ГОСТ 15086-69, страница 1 страница 1
  • ГОСТ 15086-69, страница 2 страница 2
  • ГОСТ 15086-69, страница 3 страница 3
  • ГОСТ 15086-69, страница 4 страница 4
  • ГОСТ 15086-69, страница 5 страница 5
  • ГОСТ 15086-69, страница 6 страница 6
  • ГОСТ 15086-69, страница 7 страница 7
  • ГОСТ 15086-69, страница 8 страница 8
  • ГОСТ 15086-69, страница 9 страница 9
  • ГОСТ 15086-69, страница 10 страница 10
  • ГОСТ 15086-69, страница 11 страница 11
  • ГОСТ 15086-69, страница 12 страница 12
  • ГОСТ 15086-69, страница 13 страница 13
  • ГОСТ 15086-69, страница 14 страница 14
  • ГОСТ 15086-69, страница 15 страница 15
  • ГОСТ 15086-69, страница 16 страница 16
  • ГОСТ 15086-69, страница 17 страница 17
  • ГОСТ 15086-69, страница 18 страница 18
  • ГОСТ 15086-69, страница 19 страница 19
  • ГОСТ 15086-69, страница 20 страница 20
  • ГОСТ 15086-69, страница 21 страница 21