ГОСТ 15009-69
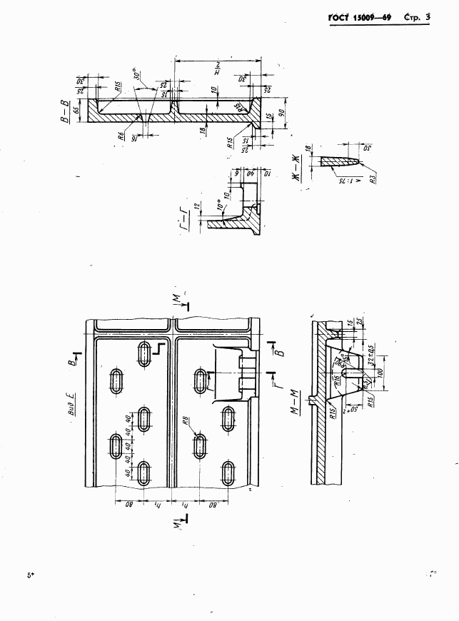
ГОСТ 15009-69 Опоки литейные цельнолитые чугунные прямоугольные размерами в свету: длиной 1200; 1400 мм, шириной 900; 1000 мм, высотой 450; 500 мм. Конструкция и размеры
Категории ГОСТ 15009-69 по ОКС:- Статус документа:
- действует, введён в действие 01.01.1971
- Название на английском языке:
- Rectangular iron all-cast moulding boxes having inside dimensions: length 1200; 1400 mm, width 900; 1000 mm, height 450; 500 mm. Construction and dimensions
- Дата актуализации информации по стандарту:
- 05.08.2025, в 21:04 (менее полугода назад)
- Вид стандарта:
- Стандарты на продукцию (услуги)
- Дата начала действия ГОСТа:
- 1971-01-01
- Дата последнего издания документа:
- 1981-11-01
Коды документа ГОСТ 15009-69:
- Код ОКП:
- 396190
- Код КГС:
- Г44
- Код ОКСТУ:
- 3961
- Число страниц:
- 5
- Назначение ГОСТ 15009-69:
- Настоящий стандарт распространяется на литейные цельнолитые чугунные прямоугольные опоки, предназначенные для изготовления песчаных литейных форм при машинной, пескометной и ручной формовке. Стандарт не распространяется на опоки, применяемые при формовке методом прессования под высоким удельным давлением
- ГРНТИ индекс(ы):
- 553535
- Этот ГОСТ входит в сборник:
- Опоки литейные цельнолитые чугунные. Конструкция и размеры. Часть 2
Нормативные ссылки, связанные с ГОСТ 15009-69:
- Стандарт ссылается на ГОСТы:
- ГОСТ 15019-69, ГОСТ 8909-75
- На стандарт ссылаются:
- ГОСТ 21028-75
Скачать ГОСТ 15009-69 вы можете в следующих версиях:
Тип файла:
Дата добавления:
Загрузок:
Размер:
Ссылка на скачивание:
Добавлен:
12/12/2011 01:59
Скачиваний:
130
Размер файла:
0.34 Мб
Ссылка для скачивания:
Добавлен:
12/12/2011 01:57
Скачиваний:
162
Размер файла:
0.2 Мб
Ссылка для скачивания:
Поправки и изменения к ГОСТ 15009-69:
-
Наименование, вид:Датарегистрации:начала действия:Ссылка:
-
Изменение №1 к ГОСТ 15009-69
Тип изменения: Текстовое изменение
Номер изменения: 1
Регистрационный номер: 3538
1980-07-101980-11-01
-
страница 1
-
страница 2
-
страница 3
-
страница 4
-
страница 5