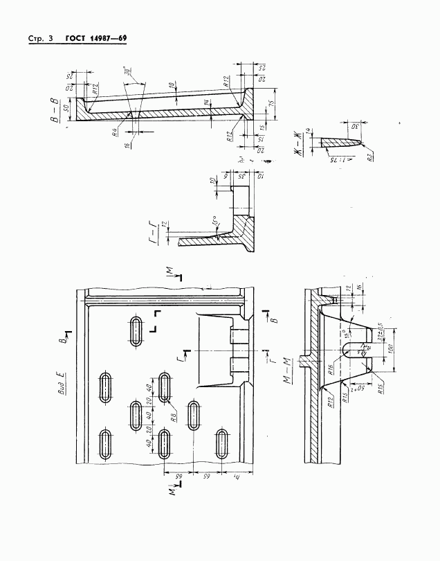
ГОСТ 14987-69 Опоки литейные цельнолитые стальные прямоугольные размерами в свету: длиной от 1600 до 2000 мм, шириной 1000; 1200 мм, высотой от 200 до 400 мм. Конструкция и размеры

Категории ГОСТ 14987-69 по ОКС:
Статус документа:
действует, введён в действие 01.01.1971
Название на английском языке:
Rectangular steel all-cast moulding boxes having inside dimensions: length from 1600 to 2000 mm, width 1000; 1200 mm, height from 200 to 400 mm. Construction and dimensions
Дата актуализации информации по стандарту:
05.08.2025, в 21:03 (менее полугода назад)
Вид стандарта:
Стандарты на продукцию (услуги)
Дата начала действия ГОСТа:
1971-01-01
Дата последнего издания документа:
1981-04-01
Коды документа ГОСТ 14987-69:
Код ОКП:
396190
Код КГС:
Г44
Код ОКСТУ:
3961
Число страниц:
7
Назначение ГОСТ 14987-69:
Настоящий стандарт распространяется на литейные цельнолитые стальные прямоугольные опоки, предназначенные для изготовления песчаных литейных форм при машинной, пескометной и ручной формовке. Стандарт не распространяется на опоки, применяемые при формовке методом прессования под высоким удельным давлением
ГРНТИ индекс(ы):
553535
Этот ГОСТ входит в сборник:
Опоки литейные цельнолитые стальные. Конструкция и размеры. Часть 1

Скачать ГОСТ 14987-69 вы можете в следующих версиях:

Тип файла:
Дата добавления:
Загрузок:
Размер:
Тип файла:
PDF с изображениями
Добавлен:
12/12/2011 01:59
Скачиваний:
111
Размер файла:
0.41 Мб
Тип файла:
PDF с изображениями
Добавлен:
12/12/2011 01:59
Скачиваний:
111
Размер файла:
0.41 Мб
Тип файла:
PDF с изображениями
Добавлен:
12/12/2011 01:57
Скачиваний:
143
Размер файла:
0.29 Мб

Поправки и изменения к ГОСТ 14987-69:

  • Наименование, вид:
    Дата
    регистрации:
    начала действия:
  • Изменение №1 к ГОСТ 14987-69

    Тип изменения: Текстовое изменение
    Номер изменения: 1
    Регистрационный номер: 3531

    1980-07-10
    1980-11-01
  • ГОСТ 14987-69, страница 1 страница 1
  • ГОСТ 14987-69, страница 2 страница 2
  • ГОСТ 14987-69, страница 3 страница 3
  • ГОСТ 14987-69, страница 4 страница 4
  • ГОСТ 14987-69, страница 5 страница 5
  • ГОСТ 14987-69, страница 6 страница 6
  • ГОСТ 14987-69, страница 7 страница 7