ГОСТ Р ИСО 12981-1-2014 Материалы углеродные для производства алюминия. Определение способности прокаленного кокса реагировать с диоксидом углерода. Часть 1. Метод потери массы

Категории ГОСТ Р ИСО 12981-1-2014 по ОКС:
Статус документа:
действует, введён в действие 01.07.2015
Название на английском языке:
Carbonaceous materials for the production of aluminium. Calcined coke. Determination of the reactivity to carbon dioxide. Part 1. Loss in mass method
Дата актуализации информации по стандарту:
11.08.2025, в 13:29 (менее 3 месяцев назад)
Вид стандарта:
временно не известен
Дата начала действия ГОСТа:
2015-07-01
Число страниц:
12
Назначение ГОСТ Р ИСО 12981-1-2014:
не указано
Нормативные ссылки, связанные с ГОСТ Р ИСО 12981-1-2014:

Скачать ГОСТ Р ИСО 12981-1-2014 вы можете в следующих версиях:

Дата добавления:
Тип файла:
Загрузок:
Размер:
23/01/2016 01:43
PDF с изображениями
0
0.4 Мб

Текст стандарта

  • ГОСТ Р ИСО 12981-1-2014, страница 1 страница 1
  • ГОСТ Р ИСО 12981-1-2014, страница 2 страница 2
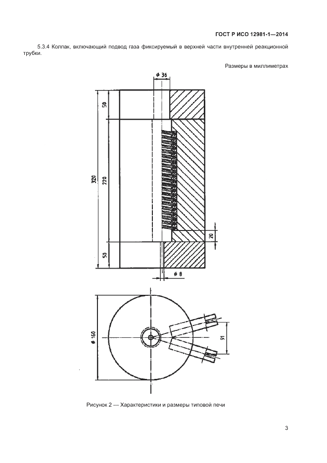
  • ГОСТ Р ИСО 12981-1-2014, страница 3 страница 3
  • ГОСТ Р ИСО 12981-1-2014, страница 4 страница 4
  • ГОСТ Р ИСО 12981-1-2014, страница 5 страница 5
  • ГОСТ Р ИСО 12981-1-2014, страница 6 страница 6
  • ГОСТ Р ИСО 12981-1-2014, страница 7 страница 7
  • ГОСТ Р ИСО 12981-1-2014, страница 8 страница 8
  • ГОСТ Р ИСО 12981-1-2014, страница 9 страница 9
  • ГОСТ Р ИСО 12981-1-2014, страница 10 страница 10
  • ГОСТ Р ИСО 12981-1-2014, страница 11 страница 11
  • ГОСТ Р ИСО 12981-1-2014, страница 12 страница 12